欢迎来到知嘟嘟! 联系电话:13336804447 卖家免费入驻,海量在线求购! 卖家免费入驻,海量在线求购!
知嘟嘟
我要发布
联系电话:13336804447
知嘟嘟经纪人
收藏
专利号: 2023105134232
申请人: 东莞市喜成电子科技有限公司
专利类型:发明专利
专利状态:已下证
专利领域: 手动工具;轻便机动工具;手动器械的手柄;车间设备;机械手
更新日期:2026-02-06
缴费截止日期: 暂无
价格&联系人
年费信息
委托购买

摘要:

权利要求书:

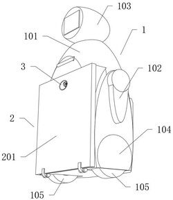
1.一种便于互动的迎宾机器人,包括躯干组件(1),其特征在于:所述躯干组件(1)包括主体(101),所述主体(101)的底部设置有移动单元,所述主体(101)的顶部设置有能够与人互动的仿真头(103),所述躯干组件(1)的一侧设置有功能组件(2),所述功能组件(2)用作承载轮椅,所述功能组件(2)远离躯干组件(1)的一侧设置有辅助组件(3),所述辅助组件(3)用作迎宾机器人移动时防止轮椅退后;

所述功能组件(2)包括载重底板(201),所述载重底板(201)的一端转动连接在主体(101)的一侧下方,所述载重底板(201)的顶部一侧转动连接有推拉滑条(202),所述推拉滑条(202)的外部上方设置有推拉驱动单元,所述推拉驱动单元设置在主体(101)的内部中部,所述推拉驱动单元通过联动结构连接有把手(211),所述把手(211)的外部滑动连接在主体(101)的内部上方并能够推拉驱动单元作用下伸缩;

所述辅助组件(3)包括气体压缩单元、气动平衡轮释放单元和两组气动轮椅止退单元,所述气体压缩单元通过管道与气动平衡轮释放单元和气动轮椅止退单元相连,所述气体压缩单元设置在主体(101)的内部下方,所述气动平衡轮释放单元设置在载重底板(201)远离主体(101)的一侧中部,两组所述气动轮椅止退单元分别设置在气动平衡轮释放单元的两侧并位于载重底板(201)的内部。

2.根据权利要求1所述的一种便于互动的迎宾机器人,其特征在于:移动单元包括两个轮毂电机(106),两个所述轮毂电机(106)的定子端分别安装在主体(101)的两侧底部,所述轮毂电机(106)的转子端外部均安装有车轮(105),所述主体(101)的两侧下方位于车轮(105)的外部均安装有外罩(104)。

3.根据权利要求2所述的一种便于互动的迎宾机器人,其特征在于:所述主体(101)的两侧上方均设置有仿真手臂(102),所述主体(101)的另一侧设置有蓄电池(107)。

4.根据权利要求1所述的一种便于互动的迎宾机器人,其特征在于:推拉驱动单元包括限位块(204),所述限位块(204)的内部滑动连接在载重底板(201)的外部上方,所述限位块(204)的内部设置有第二副齿轮(209),所述第二副齿轮(209)的一侧啮合连接有第一齿条(203),所述第一齿条(203)的一侧安装在推拉滑条(202)的内部,所述第二副齿轮(209)的中部安装有主轴(213),所述主轴(213)的两端转动连接在主体(101)的内部,所述主轴(213)的外部中部安装有第一副齿轮(205),所述第一副齿轮(205)的一侧啮合连接有驱动齿轮(207),所述驱动齿轮(207)的中部安装在第一电机(206)的驱动端,所述第一电机(206)的外壳安装在主体(101)的内部。

5.根据权利要求4所述的一种便于互动的迎宾机器人,其特征在于:联动结构包括驱动盘(208),所述驱动盘(208)的中部安装在主轴(213)的外部一边,所述驱动盘(208)通过同步带连接有从动盘(214),所述从动盘(214)的中部安装有副轴,所述副轴的外部一侧安装有第三副齿轮(210),所述第三副齿轮(210)的上方啮合连接有第二齿条(212),所述第二齿条(212)的顶部安装在把手(211)的底部一侧。

6.根据权利要求1所述的一种便于互动的迎宾机器人,其特征在于:气体压缩单元包括驱动动作筒(301),所述驱动动作筒(301)安装在主体(101)的内部下方,所述驱动动作筒(301)的内部设置有椭圆形内腔,该椭圆形内腔的中部转动连接有螺杆(303),所述螺杆(303)的顶部贯穿驱动动作筒(301)并安装在第二电机(302)的驱动端,所述第二电机(302)的外壳底部安装在驱动动作筒(301)的顶部,该椭圆形内腔的内部适配有第一活塞(304),所述第一活塞(304)的中部螺纹连接在螺杆(303)的外部。

7.根据权利要求6所述的一种便于互动的迎宾机器人,其特征在于:气动平衡轮释放单元包括执行动作筒(306),所述执行动作筒(306)的外部安装在载重底板(201)远离主体(101)的一侧中部,所述执行动作筒(306)的内部设置有椭圆形贯通腔,该椭圆形贯通腔的内部适配有第二活塞(311),所述第二活塞(311)的底部位于执行动作筒(306)的内部安装有万向轮(312),该椭圆形贯通腔的顶部中间安装有限位柱(313),所述限位柱(313)的外部下方滑动连接在第二活塞(311)的内部上方,所述执行动作筒(306)的一侧上方安装并连通在第一导管(307)的一端,所述第一导管(307)的中部安装在载重底板(201)的中部,所述第一导管(307)的另一端安装并连通有管道连接嘴(305),所述管道连接嘴(305)的底部安装在载重底板(201)靠近主体(101)的一侧中部,所述驱动动作筒(301)的一侧下方通过软管连接在管道连接嘴(305)的一侧上方。

8.根据权利要求7所述的一种便于互动的迎宾机器人,其特征在于:两组气动轮椅止退单元均包括止退翻板(310),所述载重底板(201)远离主体(101)的一侧顶部的两侧均设置有凹槽,所述止退翻板(310)的一边分别转动连接在两侧凹槽远离主体(101)的一侧槽边处,所述止退翻板(310)的底部均安装有气囊(309),所述气囊(309)的底部分别安装在两侧凹槽的底部,所述气囊(309)分别通过一根第二导管(308)连接在执行动作筒(306)的另一侧上方。

我要求购
我不想找了,帮我找吧
您有专利需要变现?
我要出售
智能匹配需求,快速出售