欢迎来到知嘟嘟! 联系电话:13336804447 卖家免费入驻,海量在线求购! 卖家免费入驻,海量在线求购!
知嘟嘟
我要发布
联系电话:13336804447
知嘟嘟经纪人
收藏
专利号: 2023103022139
申请人: 深圳美波科技有限公司
专利类型:发明专利
专利状态:已下证
专利领域: 测量;测试
更新日期:2024-02-26
缴费截止日期: 暂无
价格&联系人
年费信息
委托购买

摘要:

权利要求书:

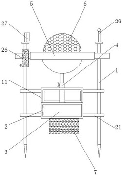
1.一种智能水务水质监测系统,其特征在于:包括定位杆(1)和密封箱(2),所述定位杆(1)设有多组并固定在河床上,其中一组定位杆(1)顶部还安装有方便信号接受的信号线(29),所述密封箱(2)表面活动设有密封门(3),且所述密封箱(2)外侧壁还对称设有多个限位板(21),所述限位板(21)上下滑动套设定位杆(1)表面,所述密封箱(2)上端设有安装杆(4),所述安装杆(4)顶部还安装有供电部件,所述供电部件外部还设有用于方便根据水位进行实时高度调节的浮力调节部件,所述密封箱(2)内部还设有检测器(9),所述检测器(9)通过电池模组(8)进行供电使用,所述密封箱(2)底部还拆卸安装有防护网罩(7),所述检测器(9)上设有检测棒(10),所述检测棒(10)贯穿密封箱(2)底部并延伸至防护网罩(7)内部,所述供电部件包括固定安装在安装杆(4)顶部的太阳能板(6)和固定设置在密封箱(2)内部的电池模组(8),所述太阳能板(6)内部连接有导线,所述导线穿过安装杆(4)延伸至其内部并通过充放电控制器与电池模组(8)连接,所述检测器(9)通过电池模组(8)进行供电使用,所述浮力调节部件包括设置在太阳能板(6)外部的浮力圈(5),所述太阳能板(6)搭接在浮力圈(5)表面,且所述浮力圈(5)呈环形构造;所述安装杆(4)通过密封轴承与密封箱(2)转动连接,所述密封箱(2)内部还设有与安装杆(4)以及太阳能板(6)配套使用的储电组件。

2.根据权利要求1所述的一种智能水务水质监测系统,其特征在于:所述储电组件包括固定架(11)、水轮板(12)、固定设置在安装杆(4)表面的弹簧伸缩杆(13)以及固定设置在密封箱(2)内部的电环(14),所述弹簧伸缩杆(13)设有多组,多组弹簧伸缩杆(13)远离安装杆(4)的一端均固定设有电刷(15),所述电刷(15)与电环(14)内壁贴合,所述电环(14)内壁还周向分布有多组辊轮(16),相邻的两组辊轮(16)间距小于电刷(15)长度尺寸,所述固定架(11)固定安装在密封箱(2)上端面,且所述固定架(11)呈U型构造,所述水轮板(12)设有多组,多组水轮板(12)固定安装在安装杆(4)位于固定架(11)内表面上。

3.根据权利要求2所述的一种智能水务水质监测系统,其特征在于:所述安装杆(4)底部还固定安装有连接杆(17),所述连接杆(17)底部贯穿密封箱(2)并延伸至防护网罩(7)内部,且所述连接杆(17)位于防护网罩(7)内部的一端固定安装有转板(18),所述转板(18)呈偏心设置,且所述转板(18)靠近检测棒(10)的一端设有相配合的毛刷(19)。

4.根据权利要求2所述的一种智能水务水质监测系统,其特征在于:所述太阳能板(6)整体呈空心球形构造,且所述太阳能板(6)具体包括密封罩(22)以及光伏板,所述密封罩(22)以及光伏板均呈空心半球状构造,其中密封罩(22)具体为聚丙烯材质制成,所述光伏板与密封罩(22)连接处经过密封圈密封处理。

5.根据权利要求4所述的一种智能水务水质监测系统,其特征在于:所述定位杆(1)与浮力圈(5)之间还设有用于加强对太阳能板(6)表面进行清理的清理部件,所述清理部件包括设置在定位杆(1)表面的密封囊(26)以及固定安装在密封罩(22)外壁的辅助杆(23),所述辅助杆(23)设有多组,且多组辅助杆(23)呈周向分布在密封罩(22)侧壁,所述清理部件还包括开设在浮力圈(5)内侧的环形槽,所述环形槽内转动设有环形架(24),所述环形架(24)内壁与辅助杆(23)固定连接,所述浮力圈(5)外表面还固定安装有两个与密封囊(26)配合使用的助力板(25),所述密封囊(26)侧壁还分布设有进水管以及出水管,所述密封囊(26)内部还设有多个用于起复位作用的弹簧圈(28),进水管和出水管内部均设有单向阀,其中一个定位杆(1)顶部还安装有导水管,所述导水管与出水管内部连通,所述导水管靠近太阳能板(6)的侧壁还连接有弧形板(27),所述弧形板(27)内部与导水管内部连通,所述弧形板(27)凹面处还分布有多个喷水孔。

6.根据权利要求5所述的一种智能水务水质监测系统,其特征在于:所述密封罩(22)底部还设有减阻罩,所述减阻罩同样呈半球形构造,且所述减阻罩与安装杆(4)表面转动连接,所述太阳能板(6)位于减阻罩内部。

7.根据权利要求6所述的一种智能水务水质监测系统及检测方法,其特征在于:其中远离密封囊(26)的另一组定位杆(1)表面还设有空心管,所述空心管为金属材质制成,所述助力板(25)为硬质塑料材质制成,所述助力板(25)内部开设有空腔,所述空腔底部开设有斜坡(30),所述斜坡(30)表面还滚动设有磁力球(31)。

8.根据权利要求6所述的一种智能水务水质监测系统,其特征在于:所述安装杆(4)具体还包括活动杆(20),所述活动杆(20)上下滑动设置在安装杆(4)内部,且所述安装杆(4)上端外侧壁设有用于对活动杆(20)进行高度调节的调节螺栓,所述密封罩(22)固定安装在活动杆(20)顶部,所述减阻罩同样转动设置在活动杆(20)表面,且所述安装杆(4)上端内壁还设有起密封作用的密封环,其中位于安装杆(4)内部的导线长度尺寸大于安装杆(4)与活动杆(20)的长度尺寸之和。

9.一种采用权利要求1‑7任一项所述的一种智能水务水质监测系统的检测方法,其特征在于:包括如下步骤:

S1,先将多个定位杆(1)固定在水面中间位置,随后将密封箱(2)通过限位板(21)套设在定位杆(1)表面并使得密封箱(2)没入水中,进而将浮力圈(5)摆放在密封箱(2)上方,并将太阳能板(6)通过安装杆(4)与密封箱(2)进行连接,完成整体的安装;

S2,启动检测器(9),检测器(9)底部的检测棒(10)能够对水质进行实时监测,在监测的过程中,水流能够带动水轮板(12)转动,水轮板(12)能够通过安装杆(4)带动太阳能板(6)转动,同时安装杆(4)带动底部的连接杆(17)转动,连接杆(17)能够利用转板(18)以及毛刷(19)对检测棒(10)表面进行实时清理;

S3,安装杆(4)在转动过程中,还能够保证电环(14)与电刷(15)始终处于贴合状态,从而保证太阳能板(6)收集的电能能够通过充放电控制器充入电池模组(8)内部进行储存;

S4,其中浮力圈(5)在水面上,能够在水流的作用下通过助力板(25)带动其发生转动,其转动角度小于360°,当助力板(25)与密封囊(26)撞击时,能够对密封囊(26)造成挤压,从而使得密封囊(26)内部的水压入弧形板(27)内部,并喷洒至太阳能板(6)表面,而另一组助力板(25)则能够与空心管撞击发生声响。