欢迎来到知嘟嘟! 联系电话:13336804447 卖家免费入驻,海量在线求购! 卖家免费入驻,海量在线求购!
知嘟嘟
我要发布
联系电话:13336804447
知嘟嘟经纪人
收藏
专利号: 2023101835784
申请人: 山东省地质矿产勘查开发局第二水文地质工程地质大队(山东省鲁北地质工程勘察院)
专利类型:发明专利
专利状态:已下证
专利领域: 测量;测试
更新日期:2024-02-23
缴费截止日期: 暂无
价格&联系人
年费信息
委托购买

摘要:

权利要求书:

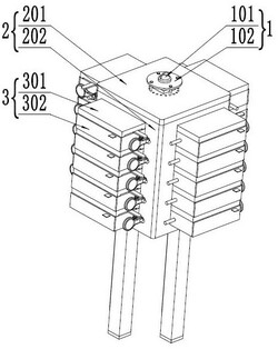
1.一种水文地质勘探用水位观测装置,包括吊放机构(1),其特征在于:还包括取样机构(2)和存储机构(3),所述的吊放机构(1)设置有吊座(101),取样机构(2)设置有侧箱(202)和收集组件,存储机构(3)设置有存储盒(302)和展示组件,吊放机构(1)转动安装在侧箱(202)上方,存储盒(302)设置有四组,每组存储盒(302)均固定安装在侧箱(202)侧面,每组存储盒(302)均设置有多个;

存储盒(302)与侧箱(202)之间通过展示组件相连,侧箱(202)下部设置有花形开口,侧箱(202)的花形开口内安装有收集组件,侧箱(202)每个侧面均固定安装有一个放置座(207),放置座(207)上侧固定安装有存储盒(302),每个存储盒(302)朝向侧箱(202)的侧面均固定安装有一个过度筒(306);

侧箱(202)侧面设置有多个通孔,侧箱(202)侧面的通孔均与一个过度筒(306)固定连接,通过过度筒(306)使收集组件与展示组件相连;

所述收集组件设置有开口框(203),开口框(203)固定安装在侧箱(202)下侧,开口框(203)设置有四个,四个开口框(203)在侧箱(202)下侧成圆周状等间距分布,每个开口框(203)侧面设置有滑槽,每个开口框(203)的滑槽均朝向侧箱(202);每个开口框(203)的滑槽内均滑动安装有一个移动杆(206),移动杆(206)长度方向截面为L形,移动杆(206)固定安装在圆盘(205)下侧;

所述取样机构(2)还设置有螺旋杆(204),螺旋杆(204)外表面由一段螺旋轴和一段光轴构成,螺旋杆(204)的螺旋轴与侧箱(202)构成螺旋配合,螺旋杆(204)上部与吊座(101)固定连接,螺旋杆(204)的光轴与圆盘(205)滑动连接,圆盘(205)上侧固定安装有第一弹簧(305),第一弹簧(305)一端固定安装在圆盘(205),第一弹簧(305)另一端固定安装在螺旋杆(204)光轴部分外表面上;存储组件设置有固定套筒(303),固定套筒(303)设置有四组,每组固定套筒(303)均滑动安装在移动杆(206)远离第一弹簧(305)的侧面,固定套筒(303)内壁滑动安装有球头轴(304),球头轴(304)半径与侧箱(202)内部通孔半径相等,固定套筒(303)与球头轴(304)之间通过弹簧连接,球头轴(304)远离移动杆(206)的一端为半球形;

所述存储组件还设置有转动轴(311)和滑动槽(315),转动轴(311)设置有多个,每个转动轴(311)均转动安装在存储盒(302)侧面,存储盒(302)内部中空,转动轴(311)外表面固定安装有转动板(313),转动板(313)安装在存储盒(302)内,转动板(313)长度与存储盒(302)内壁长度相等,转动板(313)高度与存储盒(302)内壁高度相等;转动轴(311)外表面固定安装有指示牌(310),指示牌(310)上刻印有数字,转动轴(311)外表面缠绕有第二弹簧(312),第二弹簧(312)一端固定安装在存储盒(302)侧面,第二弹簧(312)另一端固定安装在指示牌(310)侧面,存储盒(302)上侧设置有滑动槽(315),滑动槽(315)轴线方向与存储盒(302)宽度方向平行,滑动槽(315)内壁滑动安装有滑块(316),滑块(316)外表面固定安装有第一滑动杆(307)和第二滑动杆(308),第一滑动杆(307)和第二滑动杆(308)中心线方向垂直,第一滑动杆(307)和第二滑动杆(308)均滑动安装在存储盒(302)上侧,滑块(316)下侧固定安装有第三滑动杆(314),第三滑动杆(314)朝向侧箱(202)一端固定安装有卡块(309)。

2.根据权利要求1所述的一种水文地质勘探用水位观测装置,其特征在于:所述的侧箱(202)内部为圆柱形,侧箱(202)内部轴线方向为重力方向,侧箱(202)下部花形开口内滑动安装有圆盘(205),圆盘(205)半径与圆盘(205)内部半径相等。