欢迎来到知嘟嘟! 联系电话:13336804447 卖家免费入驻,海量在线求购! 卖家免费入驻,海量在线求购!
知嘟嘟
我要发布
联系电话:13336804447
知嘟嘟经纪人
收藏
专利号: 2023100287918
申请人: 青岛盈鑫建设集团有限公司
专利类型:发明专利
专利状态:已下证
专利领域: 建筑物
更新日期:2024-12-31
缴费截止日期: 暂无
价格&联系人
年费信息
委托购买

摘要:

权利要求书:

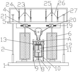
1.一种装配式建筑墙体结构,包括底座(1)和挡板(3),底座(1)上对称设置有两个挡板(3),挡板(3)的顶部固定安装有立柱(2),其特征在于,立柱(2)的顶部延伸至用于增强墙体强度的强化腔(4),强化腔(4)内设置有增强组件,强化腔(4)的底部固定在水平横板(5)上,底座(1)的中部设置有用于保护强化腔(4)的缓冲组件。

2.根据权利要求1所述的装配式建筑墙体结构,其特征在于,立柱(2)和水平横板(5)滑动连接。

3.根据权利要求2所述的装配式建筑墙体结构,其特征在于,缓冲组件包括定位转盘(18)和铰接槽(19),定位转盘(18)和底座(1)的上表面转动连接,水平横板(5)的侧壁对称设置有两个铰接槽(19),铰接槽(19)内安装有第二铰接座(21),第二铰接座(21)和铰接槽(19)滑动连接。

4.根据权利要求3所述的装配式建筑墙体结构,其特征在于,第二铰接座(21)的两侧对称设置有两个用于保护第二铰接座(21)的缓冲弹簧(20),缓冲弹簧(20)的两端分别与第二铰接座(21)和铰接槽(19)的侧壁固定连接。

5.根据权利要求3所述的装配式建筑墙体结构,其特征在于,第二铰接座(21)铰接有第二铰接杆(22),定位转盘(18)上对称设置有两个竖直定位槽(16),第二铰接杆(22)远离第二铰接座(21)的一端铰接有铰接块(17),铰接块(17)安装在竖直定位槽(16)内,且铰接块(17)和竖直定位槽(16)滑动连接,铰接块(17)铰接有第一铰接杆(15),第一铰接杆(15)远离铰接块(17)的一端铰接有第一铰接座(14),第一铰接座(14)固定连接有调节组件。

6.根据权利要求5所述的装配式建筑墙体结构,其特征在于,调节组件包括调节转轮(7)、螺纹杆(8)和升降套筒(10),升降套筒(10)和第一铰接座(14)固定连接,升降套筒(10)的中部固定安装有螺纹块(11),螺纹块(11)套设在螺纹杆(8)上,且螺纹杆(8)和螺纹块(11)之间通过螺纹连接,螺纹杆(8)的底部固定在调节转轮(7)上,调节转轮(7)和底座(1)之间转动连接。

7.根据权利要求6所述的装配式建筑墙体结构,其特征在于,升降套筒(10)的两侧对称设置有两个限位板(9),限位板(9)的顶部固定安装有限位环(13),限位环(13)和升降套筒(10)滑动连接。

8.根据权利要求6所述的装配式建筑墙体结构,其特征在于,升降套筒(10)的后侧设置有导向座(12),导向座(12)和底座(1)固定连接,升降套筒(10)和导向座(12)滑动连接。

9.根据权利要求1‑8任一所述的装配式建筑墙体结构,其特征在于,底座(1)上对称设置有两个阻燃腔(6),阻燃腔(6)内填充有阻燃材料,阻燃腔(6)的底部固定在底座(1)上。

10.根据权利要求1‑8任一所述的装配式建筑墙体结构,其特征在于,增强组件包括第一竖直导向杆(23)和第二竖直导向杆(24),第一竖直导向杆(23)的两侧对称设置有两个第二竖直导向杆(24),第一竖直导向杆(23)和第二竖直导向杆(24)的两端分别与强化腔(4)固定连接,第一竖直导向杆(23)的中部固定安装有导向轮(25),第二竖直导向杆(24)的底部固定安装有加强筋卡座(27),导向轮(25)和加强筋卡座(27)之间通过加强筋(26)固定连接。