欢迎来到知嘟嘟! 联系电话:13336804447 卖家免费入驻,海量在线求购! 卖家免费入驻,海量在线求购!
知嘟嘟
我要发布
联系电话:13336804447
知嘟嘟经纪人
收藏
专利号: 2022235243206
申请人: 江苏常开电气科技股份有限公司
专利类型:实用新型
专利状态:已下证
专利领域: 发电、变电或配电
更新日期:2025-02-26
缴费截止日期: 暂无
价格&联系人
年费信息
委托购买

摘要:

权利要求书:

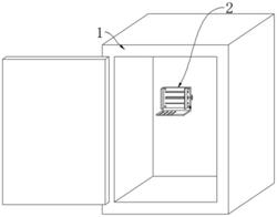
1.一种配电柜中光伏断路器的安装结构,包括:

配电柜主体(1),所述配电柜主体(1)内壁设置有用于连接光伏断路器的安装板(2);

其特征在于,

所述安装板(2)侧壁依次设置有固定板(15)和夹板(3),所述安装板(2)侧壁开设有移动槽(9),所述移动槽(9)内部设置有与所述夹板(3)相连接的移动块(5),所述移动块(5)内部设置有置于所述移动槽(9)内部的螺纹柱(6),所述螺纹柱(6)一端设置有连接柱(16),所述连接柱(16)与所述移动槽(9)内壁连接处设置有连接轴承(17),所述螺纹柱(6)另一端设置有贯穿所述安装板(2)侧壁且垂直于所述移动块(5)的转动柱(8),所述转动柱(8)端部设置有转盘(7)。

2.根据权利要求1所述的一种配电柜中光伏断路器的安装结构,其特征在于,所述移动块(5)侧壁设置有螺纹孔,所述螺纹柱(6)与所述移动块(5)之间通过螺纹相连接,所述转动柱(8)与所述安装板(2)连接处设置有转动轴承。

3.根据权利要求1所述的一种配电柜中光伏断路器的安装结构,其特征在于,所述安装板(2)侧壁对称开设有置于所述移动槽(9)两侧的导向槽(41),所述导向槽(41)内部设置有与所述夹板(3)相连接的导向块(4)。

4.根据权利要求1所述的一种配电柜中光伏断路器的安装结构,其特征在于,所述安装板(2)底部设置有L型支撑板(11),所述L型支撑板(11)顶部开设有嵌入孔(13),所述嵌入孔(13)内部设置有用于对连接光伏断路器的导线进行支撑的硅胶管(14),所述安装板(2)侧壁开设有与所述嵌入孔(13)相连通的通槽(12)。

5.根据权利要求4所述的一种配电柜中光伏断路器的安装结构,其特征在于,所述硅胶管(14)内径与连接光伏断路器的导线的直径紧密贴合,所述嵌入孔(13)直径大于所述通槽(12)的宽度,所述硅胶管(14)内径小于所述通槽(12)的宽度。

6.根据权利要求4所述的一种配电柜中光伏断路器的安装结构,其特征在于,所述L型支撑板(11)与安装板(2)连接处开设有衔接槽,所述衔接槽内部设置有连接板(10),所述连接板(10)分别与L型支撑板(11)、安装板(2)连接处设置有紧固螺栓(101)。

7.根据权利要求1所述的一种配电柜中光伏断路器的安装结构,其特征在于,所述安装板(2)与配电柜主体(1)连接处设置有安装螺栓(21)。