欢迎来到知嘟嘟! 联系电话:13336804447 卖家免费入驻,海量在线求购! 卖家免费入驻,海量在线求购!
知嘟嘟
我要发布
联系电话:13336804447
知嘟嘟经纪人
收藏
专利号: 2022234618341
申请人: 惠州市新启程科技有限公司
专利类型:实用新型
专利状态:已下证
专利领域: 机床;其他类目中不包括的金属加工
更新日期:2024-02-23
缴费截止日期: 暂无
价格&联系人
年费信息
委托购买

摘要:

权利要求书:

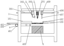
1.一种CNC数控车床,包括车床架(1)和喷油组件,所述喷油组件位于车床架(1)内,所述车床架(1)内壁左右侧且位于喷油组件下方均固定有工作台板(101),两块所述工作台板(101)底部之间设置有过滤网(103),其特征在于:所述车床架(1)左侧设置有用于清理过滤网(103)的清理组件,右侧的所述工作台板(101)内侧固定有与过滤网(103)顶面齐平的刮片(102)。

2.如权利要求1所述的一种CNC数控车床,其特征在于:所述车床架(1)内壁顶部安装有电机(2),且所述电机(2)底部设置有与其动力端固定的钻头(201)。

3.如权利要求2所述的一种CNC数控车床,其特征在于:所述喷油组件包括油泵(3)、进油管(301)、出油管(302)和喷头(303),所述油泵(3)安装于车床架(1)内部顶部且位于电机(2)左侧,所述进油管(301)和出油管(302)分别固定于油泵(3)左侧以及底部,所述喷头(303)固定于出油管(302)右端且对应钻头(201)的位置。

4.如权利要求3所述的一种CNC数控车床,其特征在于:所述清理组件包括正反马达

(4)、齿轮(401)、活动板(402)、齿块(403)、阀管(405)、进液管(406)、出液管(407)、转轴(408)以及液泵(409),所述正反马达(4)安装于车床架(1)左侧,所述齿轮(401)位于正反马达(4)前方,所述转轴(408)位于正反马达(4)以及齿轮(401)之间,所述转轴(408)两端分别与齿轮(401)以及正反马达(4)的输出端固定。

5.如权利要求4所述的一种CNC数控车床,其特征在于:所述活动板(402)固定于过滤网(103)左侧并活动贯穿出车床架(1)左侧,所述齿块(403)设有多块且均匀固定于活动板(402)底部左侧,且所述齿块(403)与齿轮(401)齿合,所述活动板(402)顶部右侧开设有储蓄槽(404),所述阀管(405)嵌入于活动板(402)底部右侧且与储蓄槽(404)相通,所述液泵(409)位于电机(2)右侧且与车床架(1)固定,所述进液管(406)和出液管(407)分别固定于液泵(409)右侧以及底部。

6.如权利要求5所述的一种CNC数控车床,其特征在于:所述车床架(1)内且位于过滤网(103)下方设置有两个与活动板(402)相固定的液箱(5),且右侧的液箱(5)对应过滤网(103)的位置,左侧的液箱(5)对应阀管(405)的位置。

我要求购
我不想找了,帮我找吧
您有专利需要变现?
我要出售
智能匹配需求,快速出售