欢迎来到知嘟嘟! 联系电话:13336804447 卖家免费入驻,海量在线求购! 卖家免费入驻,海量在线求购!
知嘟嘟
我要发布
联系电话:13336804447
知嘟嘟经纪人
收藏
专利号: 2022234322658
申请人: 江西领航检测有限公司
专利类型:实用新型
专利状态:已下证
专利领域: 工程元件或部件;为产生和保持机器或设备的有效运行的一般措施;一般绝热
更新日期:2024-02-23
缴费截止日期: 暂无
价格&联系人
年费信息
委托购买

摘要:

权利要求书:

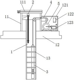
1.一种城市地下水监测装置,包括监测井(1),其特征在于:所述监测井(1)的内部一侧靠近顶端处固定安装有修复管(2),在修复管(2)的内部中心处活动安装有传动丝杠(21),同时修复管(2)的顶端固定安装有伺服电机(22),与此同时修复管(2)的外表面靠近底端处贯通安装有导液头(23),在修复管(2)的内部靠近导液头(23)处活动安装有密封塞(24),同时修复管(2)的内部靠近导液头(23)的顶部固定安装有固环(25),与此同时固环(25)和修复管(2)的内部底面通过限位滑杆(26)固定连接,在监测井(1)的内部远离修复管(2)的一侧靠近底端处活动安装有监测探头(3),且监测探头(3)的顶端固定连接有传输导线(4),同时传输导线(4)缠绕在收放卷线筒(5)的外表面,在收放卷线筒(5)的一端固定安装有正反电机(51),且正反电机(51)和收放卷线筒(5)通过转轴(52)转动连接。

2.根据权利要求1所述的一种城市地下水监测装置,其特征在于:所述收放卷线筒(5)的两端均设置有轴承座,同时收放卷线筒(5)的底部固定安装有基座(53),与此同时正反电机(51)、轴承座和基座(53)均通过螺栓固定连接。

3.根据权利要求1所述的一种城市地下水监测装置,其特征在于:所述传动丝杠(21)和伺服电机(22)通过联轴器固定连接,且传动丝杠(21)贯穿密封塞(24)、固环(25)的内部,同时传动丝杠(21)和密封塞(24)螺旋连接,在修复管(2)顶端固定安装有固座(27),且固座(27)和伺服电机(22)通过螺栓固定连接。

4.根据权利要求1所述的一种城市地下水监测装置,其特征在于:所述监测井(1)的顶部固定安装有井盖(11),且井盖(11)固定安装在混凝土座(12),同时监测井(1)的内部固定安装有井筛(13)。

5.根据权利要求4所述的一种城市地下水监测装置,其特征在于:所述井盖(11)的顶面铰接有维修门(111),在混凝土座(12)的顶部一侧固定安装有管理箱(121),同时管理箱(121)的内部固定安装有智能控制器(122)和监测终端机(123),且智能控制器(122)和伺服电机(22)、正反电机(51)电性连接,同时监测终端机(123)和传输导线(4)电性连接,与此同时智能控制器(122)和监测终端机(123)的外部通过网络无线连接有控制终端。