欢迎来到知嘟嘟! 联系电话:13336804447 卖家免费入驻,海量在线求购! 卖家免费入驻,海量在线求购!
知嘟嘟
我要发布
联系电话:13336804447
知嘟嘟经纪人
收藏
专利号: 2022234147998
专利类型:实用新型
专利状态:未下证
专利领域: 暂无
更新日期:2023-11-14
缴费截止日期: 暂无
价格&联系人
年费信息
委托购买

摘要:

权利要求书:

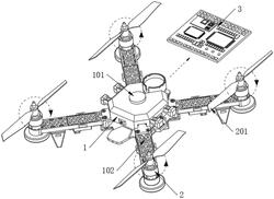
1.一种飞行控制系统,包括无人机体(1)以及安装在无人机体(1)内部的飞行控制芯片(3),其特征在于:所述无人机体(1)的四侧外壁均固定安装有机臂(102),且所述机臂(102)的末端上方安装有无刷电机(2),所述无刷电机(2)的输出轴顶端固定安装有螺旋桨(201),所述机臂(102)末端并位于无刷电机(2)正下方开设有收纳腔(103),所述无人机体(1)的正下方设置有反坠落机构(4),所述机臂(102)的正下方设置有注气件(5),所述收纳腔(103)的内部安装有凸型气囊(6);

所述反坠落机构(4)包括固定安装在无人机体(1)下表面的充气机壳(401),所述充气机壳(401)中间顶部并位于顶圆罩(101)内部安装有双轴电机(402),所述无人机体(1)的上表面固定安装有顶圆罩(101),所述双轴电机(402)的输出端顶端并位于顶圆罩(101)内部固定连接有顶杆(404),且所述顶杆(404)的两端均固定安装有配重体(403);

所述注气件(5)包括固定安装在机臂(102)下表面的注气管(501),所述注气管(501)的两端分别固定连接有气管一(502)以及气管二(503),且四个所述气管二(503)的另一端分别与所述充气机壳(401)的四端相连接,而四个所述气管一(502)的末端分别与四个凸型气囊(6)相连接。

2.根据权利要求1所述的一种飞行控制系统,其特征在于:所述充气机壳(401)靠近气管一(502)的四端底部均连接有吸气管,且所述吸气管的安装有单向阀。

3.根据权利要求2所述的一种飞行控制系统,其特征在于:所述双轴电机(402)输出轴底端并位于充气机壳(401)中心内部固定安装有主齿轮(405),所述充气机壳(401)的内部四侧均转动安装有与主齿轮(405)相啮合的从齿轮(406)。

4.根据权利要求3所述的一种飞行控制系统,其特征在于:所述从齿轮(406)的下方均固定安装有转轮(407),所述转轮(407)的下方边缘一侧转动连接有转接杆(408),所述转接杆(408)的末端转动连接有活塞(409),且四个所述活塞(409)滑动安装在所述充气机壳(401)的四端内部。

5.根据权利要求1所述的一种飞行控制系统,其特征在于:所述注气管(501)的内部活动安装有气塞(504),所述注气管(501)靠近气管一(502)的外壁一端依次固定设置有圆管(506)以及矩形管(505),且所述矩形管(505)与圆管(506)通过设置的连管(510)相连接,所述圆管(506)的一侧外壁固定连接有泄气管(507)。

6.根据权利要求5所述的一种飞行控制系统,其特征在于:所述矩形管(505)的内部滑动安装有楔形块(508),所述圆管(506)的内部活动设置有用于堵住泄气管(507)的挡片(509),且所述楔形块(508)与挡片(509)通过活动贯穿连管(510)的连杆(511)相连接。

7.根据权利要求6所述的一种飞行控制系统,其特征在于:所述气管一(502)靠近注气管(501)的一端固定连接有单向管(512),且所述单向管(512)的内部同样安装单向阀。

8.根据权利要求1所述的一种飞行控制系统,其特征在于:所述机臂(102)的末端下方均固定安装有用于支撑机体的支杆(104),且所述无人机体(1)的内部安装有用于控制飞行的飞行控制芯片(3),所述飞行控制芯片(3)的内部设置有惯性测量单元(301),所述惯性测量单元(301)的内部设置有磁力计(302)、陀螺仪(303)以及加速度计(304)。