欢迎来到知嘟嘟! 联系电话:13336804447 卖家免费入驻,海量在线求购! 卖家免费入驻,海量在线求购!
知嘟嘟
我要发布
联系电话:13336804447
知嘟嘟经纪人
收藏
专利号: 2022234109661
申请人: 上海朗锐航空器材有限公司
专利类型:实用新型
专利状态:已下证
专利领域: 照明
更新日期:2025-02-21
缴费截止日期: 暂无
价格&联系人
年费信息
委托购买

摘要:

权利要求书:

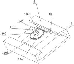
1.一种航空维修照明设备,包括底座(1),其特征在于:所述底座(1)顶部中心的内部开设有转动槽(2),所述转动槽(2)的内部设置有安装销(3),所述安装销(3)的顶部安装有安装基座(4),所述安装基座(4)的顶部设置有基本轨(5),所述基本轨(5)的左右两端均设置有连接销(6),所述安装基座(4)顶部中心的右侧设置有调节机构(7),所述连接销(6)远离基本轨(5)中心的一侧设置有延长轨(8),所述基本轨(5)中心的内部设置有移动基座(9),所述移动基座(9)顶部中心的前端设置有移动轨(10),所述移动轨(10)中心的内部设置有转向机构(11)。

2.根据权利要求1所述的一种航空维修照明设备,其特征在于:所述基本轨(5)的左右两端与连接销(6)一体化连接,所述延长轨(8)靠近底座(1)中心的一侧通过连接销(6)与基本轨(5)活动连接。

3.根据权利要求1所述的一种航空维修照明设备,其特征在于:所述调节机构(7)包括凸形槽,所述凸形槽等距分布于安装基座(4)底部偏上的内部,所述凸形槽远离安装基座(4)中心的一侧的内部设置有调节柱(701),所述凸形槽靠近安装基座(4)中心的一侧的内部的底部设置有固定销(702),所述固定销(702)的底部设置有第一弹簧(703),所述安装基座(4)顶部中心的右侧设置有转动支架(704),所述转动支架(704)的外表面设置有转动块(705),所述转动块(705)中心的后侧设置有调节块(706),所述调节块(706)中心的内部设置有调节杆(707),所述调节块(706)内部中心的上下两端均设置有第二弹簧(708),所述调节杆(707)中心偏右的上下两端均设置有安装片(709),所述调节杆(707)靠近安装基座(4)中心的一侧的底部设置有固定孔。

4.根据权利要求3所述的一种航空维修照明设备,其特征在于:所述固定销(702)的底部与第一弹簧(703)的顶部固定连接,所述第一弹簧(703)的外表面直径小于转动块(705)的内表面直径。

5.根据权利要求3所述的一种航空维修照明设备,其特征在于:所述调节杆(707)贯穿调节块(706)中心的内部且延伸至调节块(706)的内部,所述调节杆(707)通过安装片(709)和第二弹簧(708)与调节块(706)伸缩连接。

6.根据权利要求1所述的一种航空维修照明设备,其特征在于:所述转向机构(11)包括移动块(1101),所述移动块(1101)位于移动轨(10)中心的内部,所述移动块(1101)的前端中心处设置有拨动销(1102),所述移动块(1101)的顶部设置有移动齿板(1103),所述移动齿板(1103)的后侧中心处啮合有外齿盘(1104),所述外齿盘(1104)中心处设置有安装台(1105),所述安装台(1105)的顶部中心处设置有伸缩架(1106),所述伸缩架(1106)的顶部轴接有安装块(1107),所述安装块(1107)的顶部中心处设置有照明灯(1108)。

7.根据权利要求6所述的一种航空维修照明设备,其特征在于:所述移动块(1101)的顶部与移动齿板(1103)的底部中心处固定连接,所述移动齿板(1103)通过拨动销(1102)和移动块(1101)与移动轨(10)构成水平移动结构。

8.根据权利要求6所述的一种航空维修照明设备,其特征在于:所述安装台(1105)通过外齿盘(1104)和移动齿板(1103)构成转动结构。