欢迎来到知嘟嘟! 联系电话:13336804447 卖家免费入驻,海量在线求购! 卖家免费入驻,海量在线求购!
知嘟嘟
我要发布
联系电话:13336804447
知嘟嘟经纪人
收藏
专利号: 2022233797344
申请人: 张家口养谷厚道农业有限公司
专利类型:实用新型
专利状态:已下证
专利领域: 固体废物的处理;被污染土壤的再生〔3,6〕
更新日期:2024-02-23
缴费截止日期: 暂无
价格&联系人
年费信息
委托购买

摘要:

权利要求书:

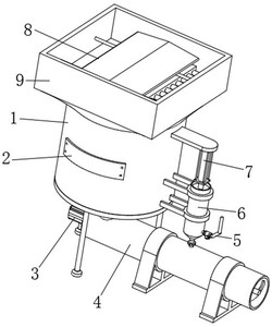
1.一种土壤修复系统,包括分离箱(1),其特征在于:所述分离箱(1)的顶部连通有加料框(9),所述加料框(9)内腔的左右两侧均固定连接有分选网板(13),所述分选网板(13)的顶部设置有位移板(17),所述位移板(17)的左右两侧均焊接有破碎齿(16),所述分离箱(1)内腔的顶部安装有驱动组件(10),所述驱动组件(10)包括双轴电机(102)和引导框(104),所述双轴电机(102)底部的输出端分别固定连接有破碎杆(14)和清洁刷板(15),所述分离箱(1)内腔的中心处固定安装有网孔筛斗(11),所述分离箱(1)的底部连通有输送组件(4),所述输送组件(4)的左侧安装有驱动电机(3),所述分离箱(1)的右侧固定安装有电动推杆(7),所述电动推杆(7)的底部设置有连接筒(6),所述连接筒(6)内腔右侧的底部连通有注液管(5),所述电动推杆(7)的输出端且位于连接筒(6)的内腔固定连接有密封塞(20)。

2.根据权利要求1所述的一种土壤修复系统,其特征在于:所述分离箱(1)的底部焊接有支腿,所述加料框(9)内腔的顶部焊接有分流板(8),所述位移板(17)位于分流板(8)的底部,所述分离箱(1)正表面的顶部螺栓安装有挡板(2)。

3.根据权利要求1所述的一种土壤修复系统,其特征在于:所述位移板(17)的底部与分选网板(13)的顶部滑动接触,所述加料框(9)的内腔横向焊接有固定杆(19),所述固定杆(19)表面的中心处滑动套设有导向套(18),所述导向套(18)的底部与位移板(17)的顶部焊接。

4.根据权利要求1所述的一种土壤修复系统,其特征在于:所述引导框(104)的顶部与位移板(17)的底部固定连接,所述双轴电机(102)顶部的输出端固定连接有转盘(103),所述转盘(103)顶部的前侧固定连接有凸柱(101),所述凸柱(101)的表面与引导框(104)的内壁滑动接触。

5.根据权利要求1所述的一种土壤修复系统,其特征在于:所述双轴电机(102)的外侧固定套设有保护壳,保护壳的表面通过支杆与分离箱(1)的内壁固定连接,所述电动推杆(7)的顶部、连接筒(6)的表面均通过支板与分离箱(1)的右侧固定连接。

6.根据权利要求1所述的一种土壤修复系统,其特征在于:所述输送组件(4)包括传输筒(42),所述分离箱(1)内腔的底部与传输筒(42)内腔顶部的左侧连通,所述驱动电机(3)的右侧通过螺栓与传输筒(42)的左侧固定连接,所述驱动电机(3)的输出端且位于传输筒(42)的内腔固定连接有连接杆(43),所述连接杆(43)的表面固定套设有螺旋叶片(41),所述连接筒(6)的底部与驱动电机(3)内腔的顶部连通。

7.根据权利要求1所述的一种土壤修复系统,其特征在于:所述连接筒(6)表面的底部固定套设有电动阀(12),所述注液管(5)表面的左侧套设安装有单向阀(21),所述注液管(5)的顶部与外设药液源连通。