欢迎来到知嘟嘟! 联系电话:13336804447 卖家免费入驻,海量在线求购! 卖家免费入驻,海量在线求购!
知嘟嘟
我要发布
联系电话:13336804447
知嘟嘟经纪人
收藏
专利号: 2022233377193
申请人: 梁遨宇
专利类型:实用新型
专利状态:已下证
专利领域: 服饰缝纫用品;珠宝
更新日期:2024-02-28
缴费截止日期: 暂无
价格&联系人
年费信息
委托购买

摘要:

权利要求书:

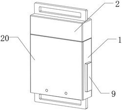
1.一种汽车安全带锁扣,其特征在于,包括:主架(1)和活动扣(2),所述主架(1)的一侧固定连接有第一侧板(3),所述第一侧板(3)的一侧固定连接有支撑块(4),所述支撑块(4)的表面固定连接有簧片(5),所述支撑块(4)的表面活动连接有撬片(6),所述簧片(5)的表面与撬片(6)的一侧滑动连接,所述第一侧板(3)的一侧固定连接有导位柱(7),所述导位柱(7)的外壁滑动连接有推块(8),且推块(8)的数量为两个,且两个推块(8)相对分布,所述推块(8)的内壁滑动连接有解锁按钮(9),所述推块(8)的表面贯穿开设有导位孔(10),所述解锁按钮(9)的外壁设置有推销(11),所述推块(8)的顶部一体式设置有推杆(12),所述撬片(6)的一侧内嵌式开设有凹槽(13),所述活动扣(2)的底部固定连接有插片(14),所述插片(14)的两侧贯穿开设有插孔(15),所述撬片(6)的一侧一体式设置有卡钩(16)。

2.根据权利要求1所述的一种汽车安全带锁扣,其特征在于,所述推销(11)的外壁与导位孔(10)的内壁滑动连接。

3.根据权利要求1所述的一种汽车安全带锁扣,其特征在于,所述推杆(12)的表面与凹槽(13)的内壁滑动连接。

4.根据权利要求1所述的一种汽车安全带锁扣,其特征在于,所述撬片(6)通过插孔(15)和卡钩(16)与插片(14)卡接,且卡钩(16)的顶部设置有斜面。

5.根据权利要求1所述的一种汽车安全带锁扣,其特征在于,两个所述解锁按钮(9)的一侧均内嵌式开设有限位槽,且限位槽的内部活动连接有弹簧(17)。

6.根据权利要求1所述的一种汽车安全带锁扣,其特征在于,所述支撑块(4)的表面固定插接有支撑轴(18),且支撑块(4)通过支撑轴(18)与撬片(6)转动连接。

7.根据权利要求1所述的一种汽车安全带锁扣,其特征在于,所述主架(1)的两侧均贯穿开设有滑孔(19),且两个滑孔(19)的内壁与两个所述解锁按钮(9)的外壁均滑动连接。

8.根据权利要求1所述的一种汽车安全带锁扣,其特征在于,所述主架(1)远离第一侧板(3)的一侧滑动连接有第二侧板(20)。

我要求购
我不想找了,帮我找吧
您有专利需要变现?
我要出售
智能匹配需求,快速出售