欢迎来到知嘟嘟! 联系电话:13336804447 卖家免费入驻,海量在线求购! 卖家免费入驻,海量在线求购!
知嘟嘟
我要发布
联系电话:13336804447
知嘟嘟经纪人
收藏
专利号: 202223302483X
申请人: 安徽大赢生态科技有限责任公司
专利类型:实用新型
专利状态:已下证
专利领域: 道路、铁路或桥梁的建筑
更新日期:2025-04-16
缴费截止日期: 暂无
价格&联系人
年费信息
委托购买

摘要:

权利要求书:

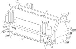
1.一种路基填筑土壤破碎设备,包括装置主体(1),其特征在于:所述装置主体(1)的外部两侧均焊接连接有固定板(102),所述固定板(102)的上端安装有电动液压缸(3),所述电动液压缸(3)的下端安装有用于保持装置主体(1)位置稳定的路基定位锥(301),所述装置主体(1)的前端和后端均安装有主防尘板(4),且所述装置主体(1)的下端安装有用于破碎土壤的破碎桨(202),所述装置主体(1)的下端安装有四个防滑驱动轮(5),四个所述防滑驱动轮(5)的上方安装有电动缸(504),且所述防滑驱动轮(5)的外表面设置有一体成型的防滑块(501)。

2.根据权利要求1所述的一种路基填筑土壤破碎设备,其特征在于:所述装置主体(1)的上端面设置有安装槽(101),所述安装槽(101)的内部安装有伺服电机(2),所述伺服电机(2)设置有四个,四个所述伺服电机(2)的下端安装有连接轴(203),所述破碎桨(202)的上端面安装有转动板(201),所述连接轴(203)与转动板(201)之间通过联轴器传动连接,且所述连接轴(203)通过轴承与装置主体(1)转动连接。

3.根据权利要求1所述的一种路基填筑土壤破碎设备,其特征在于:所述装置主体(1)的前端和后端均设置有防护罩(103),所述防护罩(103)的内部安装有辅助防尘板(401),所述辅助防尘板(401)与防护罩(103)滑动连接。

4.根据权利要求3所述的一种路基填筑土壤破碎设备,其特征在于:所述主防尘板(4)穿过固定板(102)与固定板(102)滑动连接,所述主防尘板(4)和辅助防尘板(401)的外部安装有连接架(402)。

5.根据权利要求4所述的一种路基填筑土壤破碎设备,其特征在于:所述电动液压缸(3)的下端与路基定位锥(301)之间安装有连接块(302),所述连接架(402)与连接块(302)之间通过固定螺丝连接,所述连接块(302)分别与路基定位锥(301)和电动液压缸(3)通过固定螺丝连接。

6.根据权利要求1所述的一种路基填筑土壤破碎设备,其特征在于:所述防滑驱动轮(5)的后端安装有升降架(502),所述装置主体(1)的下端两侧均设置有一体成型的滑动槽(104),所述电动缸(504)分别与装置主体(1)和升降架(502)的上端固定连接,所述升降架(502)的内部贯穿有滑杆(503),所述滑杆(503)与装置主体(1)固定连接,所述升降架(502)的后端设置有驱动电机,且驱动电机与防滑驱动轮(5)之间通过联轴器传动连接。