欢迎来到知嘟嘟! 联系电话:13336804447 卖家免费入驻,海量在线求购! 卖家免费入驻,海量在线求购!
知嘟嘟
我要发布
联系电话:13336804447
知嘟嘟经纪人
收藏
专利号: 202223278608X
申请人: 杨波
专利类型:实用新型
专利状态:已下证
专利领域: 手动工具;轻便机动工具;手动器械的手柄;车间设备;机械手
更新日期:2024-02-23
缴费截止日期: 暂无
价格&联系人
年费信息
委托购买

摘要:

权利要求书:

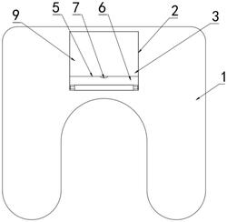
1.一种计算机组装平台,其特征在于,包括:

U型平台(1);

升降组件;所述升降组件包括位于U型平台(1)下方的U型底座(4),所述U型底座(4)的上端安装有多个电动推杆(9),所述电动推杆(9)的输出端与U型平台(1)的底部固定连接;

角度调节组件;所述角度调节组件包括设置在U型平台(1)上端的收纳槽(2),所述收纳槽(2)内转动连接有机箱放置板(3),所述机箱放置板(3)上活动连接有机箱挡板(6),所述收纳槽(2)内活动连接有驱动机箱放置板(3)转动的驱动杆(11)。

2.根据权利要求1所述的一种计算机组装平台,其特征在于,其中:所述机箱放置板(3)的端部固定连接有挡条(14),所述挡条(14)与收纳槽(2)内壁相抵设置。

3.根据权利要求1所述的一种计算机组装平台,其特征在于,其中:所述机箱放置板(3)上设有凹槽(5),所述机箱挡板(6)活动连接在凹槽(5)内。

4.根据权利要求1所述的一种计算机组装平台,其特征在于,其中:所述机箱挡板(6)上设有扣槽(7)。

5.根据权利要求1所述的一种计算机组装平台,其特征在于,其中:所述收纳槽(2)内侧设有安装槽(8),所述安装槽(8)内安装有电机(15),所述电机(15)的输出端固定连接有螺杆(12),所述收纳槽(2)内滑动连接有滑块(13),所述螺杆(12)贯穿滑块(13)并螺纹连接,所述驱动杆(11)与滑块(13)的上端铰接连接。

6.根据权利要求5所述的一种计算机组装平台,其特征在于,其中:所述机箱放置板(3)的底部设有槽体(10),所述驱动杆(11)的上端与槽体(10)的内顶部铰接连接。