欢迎来到知嘟嘟! 联系电话:13336804447 卖家免费入驻,海量在线求购! 卖家免费入驻,海量在线求购!
知嘟嘟
我要发布
联系电话:13336804447
知嘟嘟经纪人
收藏
专利号: 2022231027509
申请人: 南京恒倍特玻璃钢有限公司
专利类型:实用新型
专利状态:已下证
专利领域: 一般的物理或化学的方法或装置
更新日期:2025-04-16
缴费截止日期: 暂无
价格&联系人
年费信息
委托购买

摘要:

权利要求书:

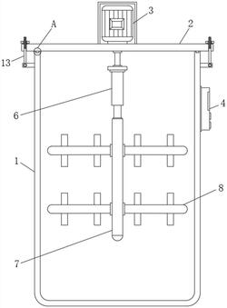
1.一种玻璃钢储罐的可调节搅拌装置,包括储存罐(1)、法兰盖(2)和螺纹杆(13),其特征在于:所述储存罐(1)的顶部设置有法兰盖(2),所述法兰盖(2)的顶部设置有伺服电机(3),所述伺服电机(3)的输出端连接有传动杆(5),所述传动杆(5)的底端固定连接有伸缩杆(6),且伸缩杆(6)位于储存罐(1)的内部,所述伸缩杆(6)的底端固定连接有搅拌轴(7),所述储存罐(1)的外表面固定连接有控制器(4)。

2.根据权利要求1所述的一种玻璃钢储罐的可调节搅拌装置,其特征在于:所述法兰盖(2)的表面贯穿设置有对称布置的卡槽(10),所述储存罐(1)的外表面等距固定连接有对称布置的安装板(11),两组所述安装板(11)相互靠近的表面通过轴承设置有旋转轴(12),所述旋转轴(12)的表面均固定连接有螺纹杆(13),且螺纹杆(13)位于卡槽(10)的内部。

3.根据权利要求2所述的一种玻璃钢储罐的可调节搅拌装置,其特征在于:所述螺纹杆(13)的表面均螺纹连接有螺纹环(14),所述螺纹环(14)的底端固定连接有限位板(15),所述螺纹环(14)的外表面设置有对称布置的固定块(16)。

4.根据权利要求1所述的一种玻璃钢储罐的可调节搅拌装置,其特征在于:所述搅拌轴(7)的表面等距设置有对称布置的搅拌杆(8),所述搅拌杆(8)的表面等距固定连接有搅拌叶(9)。

5.根据权利要求1所述的一种玻璃钢储罐的可调节搅拌装置,其特征在于:所述储存罐(1)的顶部贯穿设置有密封槽(17),所述法兰盖(2)的底部固定连接有密封圈(18),且密封圈(18)与密封槽(17)嵌合连接。

我要求购
我不想找了,帮我找吧
您有专利需要变现?
我要出售
智能匹配需求,快速出售