欢迎来到知嘟嘟! 联系电话:13336804447 卖家免费入驻,海量在线求购! 卖家免费入驻,海量在线求购!
知嘟嘟
我要发布
联系电话:13336804447
知嘟嘟经纪人
收藏
专利号: 2022230313471
申请人: 潍坊朗泰电子科技有限公司
专利类型:实用新型
专利状态:已下证
专利领域: 工程元件或部件;为产生和保持机器或设备的有效运行的一般措施;一般绝热
更新日期:2025-02-26
缴费截止日期: 暂无
价格&联系人
年费信息
委托购买

摘要:

权利要求书:

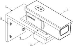
1.一种角度可调节的视频监控设备,包括安装座,其特征在于,所述安装座的顶面转动连接有转动轴,所述转动轴的顶端固定连接有支撑板,所述支撑板的顶面设置有监控探头,所述安装座与支撑板的顶面设置有驱动机构,所述监控探头的一侧底面与支撑板的顶面之间设置有调节机构。

2.根据权利要求1所述的一种角度可调节的视频监控设备,其特征在于,所述驱动机构包括伺服电机一,所述伺服电机一安装在安装座的底面,所述伺服电机一的输出端贯穿安装座的底面且固定连接有驱动齿轮,所述转动轴的外表面套设有传动齿轮,所述传动齿轮与驱动齿轮啮合连接,所述支撑板的一侧顶面通过固定杆固定连接有万向球头,所述监控探头的一侧底面固定连接有连接座,所述连接座的底面开设有与万向球头相对应的万向球头槽。

3.根据权利要求1所述的一种角度可调节的视频监控设备,其特征在于,所述调节机构包括伺服电机二,所述伺服电机二安装在支撑板的另一侧顶面,所述支撑板的顶面固定连接有固定板,所述伺服电机二的输出端固定连接有螺纹杆,所述螺纹杆远离伺服电机二的端部转动连接在固定板的侧面,所述螺纹杆的外表面套设有导向块,所述导向块的顶面铰接有调节杆的一端,所述调节杆的另一端铰接在监控探头另一侧的底面。

4.根据权利要求2所述的一种角度可调节的视频监控设备,其特征在于,所述万向球头的外表面与万向球头槽的内侧面相贴合,所述监控探头的四分之一位于支撑板的外侧。

5.根据权利要求3所述的一种角度可调节的视频监控设备,其特征在于,所述导向块的底面与支撑板的顶面相贴合,所述调节杆的端部铰接在监控探头底面的中轴线处。

6.根据权利要求2所述的一种角度可调节的视频监控设备,其特征在于,所述伺服电机一的外表面设置有保护箱,所述安装座的侧面贯通连接有四个均布的固定螺栓。