欢迎来到知嘟嘟! 联系电话:13336804447 卖家免费入驻,海量在线求购! 卖家免费入驻,海量在线求购!
知嘟嘟
我要发布
联系电话:13336804447
知嘟嘟经纪人
收藏
专利号: 2022229547666
申请人: 房县奇伟服饰有限公司
专利类型:实用新型
专利状态:已下证
专利领域: 计算;推算;计数
更新日期:2025-02-08
缴费截止日期: 暂无
价格&联系人
年费信息
委托购买

摘要:

权利要求书:

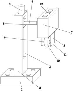
1.一种布料计数用跑码机,包括底座(1)和机体(7),其特征在于,所述底座(1)的顶部固定连接有支撑板(2),所述支撑板(2)的一侧开设有凹槽(3),所述支撑板(2)的顶部固定连接有驱动电机(4),所述驱动电机(4)的输出轴上固定连接有驱动丝杆(14),所述驱动丝杆(14)的外侧固定套设有调节板(5),所述调节板(5)的一侧固定连接有气缸(6),所述气缸(6)的输出轴上固定连接有安装板(16),所述安装板(16)的一侧开设有两个插孔(17),所述机体(7)的一侧固定连接有两个插杆(15),两个插杆(15)分别活动卡接在对应的插孔(17)内,所述插杆(15)的顶部和底部均开设有滑槽(19),所述滑槽(19)内固定连接有复位弹簧(20),所述复位弹簧(20)的外端固定连接有卡板(18),四个卡板(18)均活动抵接在安装板(16)的一侧,所述机体(7)的底部转动连接有旋转杆(9),所述旋转杆(9)的外侧固定连接有跑码轮(10)和下链轮(11),所述机体(7)的两侧内壁上转动连接有三个计数盘(24),前侧的两个计数盘(24)的一侧固定连接有大齿轮(22),后侧的两个计数盘(24)的一侧固定连接有小齿轮(23),两个大齿轮(22)分别与小齿轮(23)相啮合,最后侧的计数盘(24)的一侧固定连接有上链轮(21),所述上链轮(21)和下链轮(11)上传动连接有同一个传动链(13)。

2.根据权利要求1所述的一种布料计数用跑码机,其特征在于:所述机体(7)的顶部开设有三个查看口,所述查看口内固定连接有透明窗(12)。

3.根据权利要求1所述的一种布料计数用跑码机,其特征在于:所述机体(7)的底部开设有限位口,所述传动链(13)活动套设在限位口内。

4.根据权利要求1所述的一种布料计数用跑码机,其特征在于:所述机体(7)的底部固定连接有两个支架(8),所述旋转杆(9)转动连接在两个支架(8)之间。

5.根据权利要求1所述的一种布料计数用跑码机,其特征在于:所述调节板(5)滑动套设在凹槽(3)内,四个卡板(18)分别滑动套接在对应的滑槽(19)内。

6.根据权利要求1所述的一种布料计数用跑码机,其特征在于:所述底座(1)的顶部开设有四个螺纹孔,四个螺纹孔基于底座(1)呈矩形设置。