欢迎来到知嘟嘟! 联系电话:13336804447 卖家免费入驻,海量在线求购! 卖家免费入驻,海量在线求购!
知嘟嘟
我要发布
联系电话:13336804447
知嘟嘟经纪人
收藏
专利号: 2022227800706
申请人: 周汉澍
专利类型:实用新型
专利状态:已下证
专利领域: 无轨陆用车辆
更新日期:2024-04-03
缴费截止日期: 暂无
价格&联系人
年费信息
委托购买

摘要:

权利要求书:

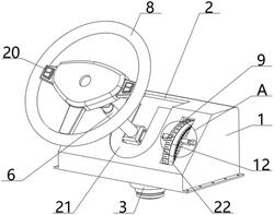
1.一种汽车方向盘位置调节装置,包括箱体(1)和安装有安装板(4)的方向柱套(3),其特征在于:所述箱体(1)的外壁开设有通槽(2),所述安装板(4)的内壁活动安装有联动板(5),所述联动板(5)的外壁固定安装有套管(6),所述套管(6)的内壁活动连接有安装管(7),所述安装管(7)的外壁活动连接有方向盘(8),所述箱体(1)的一侧外壁开设有矩形槽(9),所述联动板(5)的一侧外壁固定安装有连接杆(10),所述连接杆(10)的外壁设置有用于安装刻度盘(12)的安装杆(11),所述箱体(1)靠近刻度盘(12)的一侧外壁固定安装有指向箭头(13)。

2.根据权利要求1所述的一种汽车方向盘位置调节装置,其特征在于:所述套管(6)的一侧外壁对称开设有定位孔(14),所述安装管(7)的内壁底部固定安装有安装盘(15)。

3.根据权利要求2所述的一种汽车方向盘位置调节装置,其特征在于:所述安装盘(15)的内壁底部固定安装有承接板(16),所述承接板(16)的上表面设有气缸(17)。

4.根据权利要求3所述的一种汽车方向盘位置调节装置,其特征在于:所述气缸(17)的输出端设有输出定位杆(18)并贯穿安装盘(15),所述气缸(17)的上表面对称设有连接线(19)。

5.根据权利要求1所述的一种汽车方向盘位置调节装置,其特征在于:所述方向盘(8)的外壁对称设有开关按钮(20),所述箱体(1)的内壁固定安装有橡胶套(21)。

6.根据权利要求1所述的一种汽车方向盘位置调节装置,其特征在于:所述刻度盘(12)的外壁固定安装有定位盘(22),所述定位盘(22)的外壁对称开设有内螺纹孔(23)。

7.根据权利要求6所述的一种汽车方向盘位置调节装置,其特征在于:所述箱体(1)的一侧外壁固定安装有安装块(24),所述安装块(24)的外壁活动连接有外螺纹杆(25)。

8.根据权利要求7所述的一种汽车方向盘位置调节装置,其特征在于:所述外螺纹杆(25)与内螺纹孔(23)相适配,所述外螺纹杆(25)的一端固定安装有活动盘(26)。