欢迎来到知嘟嘟! 联系电话:13336804447 卖家免费入驻,海量在线求购! 卖家免费入驻,海量在线求购!
知嘟嘟
我要发布
联系电话:13336804447
知嘟嘟经纪人
收藏
专利号: 202222735513X
申请人: 太仓市鑫匠机械设备有限公司
专利类型:实用新型
专利状态:已下证
专利领域: 机床;其他类目中不包括的金属加工
更新日期:2024-04-03
缴费截止日期: 暂无
价格&联系人
年费信息
委托购买

摘要:

权利要求书:

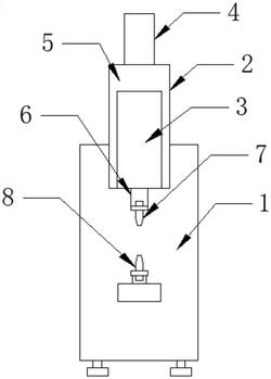
1.一种碰焊机升降作业台,包括碰焊机(1),所述碰焊机(1)上侧设置有升降座(2),其特征在于:所述升降座(2)内腔左右两侧均通过螺栓连接有滑轨(9),所述滑轨(9)上滑动连接有滑块(10),左右两侧的所述滑块(10)之间通过螺栓连接有驱动板(14),所述驱动板(14)中部设置有丝杆螺母(13),所述丝杆螺母(13)上安装有丝杆(11),所述丝杆(11)与升降座(2)之间转动连接,所述升降座(2)上端通过螺栓连接有伺服电机(4),所述伺服电机(4)输出轴下端与丝杆(11)上端传动连接,所述驱动板(14)前端设置有升降头(6),所述升降头(6)下端安装有上焊接头(7),所述碰焊机(1)上设置有与上焊接头(7)相对应的下焊接头(8),所述升降座(2)前端为开口状,且所述升降座(2)前端通过螺栓连接有盖板(5),所述盖板(5)上开设有供升降头(6)移动的缺口(15)。

2.根据权利要求1所述的一种碰焊机升降作业台,其特征在于:所述盖板(5)前侧通过螺栓连接有挡罩(3),所述挡罩(3)底部呈开口状。

3.根据权利要求1所述的一种碰焊机升降作业台,其特征在于:所述升降座(2)内腔上下两侧均通过螺栓连接有转动座(12),所述丝杆(11)与转动座(12)之间通过轴承转动连接。

4.根据权利要求1所述的一种碰焊机升降作业台,其特征在于:所述伺服电机(4)输出轴下端与丝杆(11)上端之间通过联轴器传动连接。

我要求购
我不想找了,帮我找吧
您有专利需要变现?
我要出售
智能匹配需求,快速出售