欢迎来到知嘟嘟! 联系电话:13336804447 卖家免费入驻,海量在线求购! 卖家免费入驻,海量在线求购!
知嘟嘟
我要发布
联系电话:13336804447
知嘟嘟经纪人
收藏
专利号: 2022225998854
申请人: 北京城建亚泰金砼混凝土有限公司
专利类型:实用新型
专利状态:已下证
专利领域: 测量;测试
更新日期:2025-06-19
缴费截止日期: 暂无
价格&联系人
年费信息
委托购买

摘要:

权利要求书:

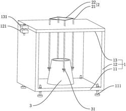
1.一种高保坍性再生混凝土坍落测试设备,其特征在于:包括支撑框(1)、坍落度筒(3)以及升降组件(2);所述坍落度筒(3)安装在所述支撑框(1)内,所述升降组件(2)安装在所述支撑框(1)上,所述升降组件(2)包括多根升降杆(21),多根所述升降杆(21)与所述坍落度筒(3)连接,所述升降组件(2)用于提升所述坍落度筒(3)。

2.根据权利要求1所述的一种高保坍性再生混凝土坍落测试设备,其特征在于:所述支撑框(1)包括底板(11)、侧板(12)以及顶板(13),所述底板(11)为矩形板,所述侧板(12)竖直设置在所述底板(11)相对的两侧,所述顶板(13)盖设在所述侧板(12)远离所述底板(11)的一端;所述坍落度筒(3)安装在所述底板(11)设置有所述侧板(12)的一面,所述升降杆(21)滑动穿设在所述顶板(13)上。

3.根据权利要求2所述的一种高保坍性再生混凝土坍落测试设备,其特征在于:所述顶板(13)与一块所述侧板(12)之间通过合页铰接,所述顶板(13)与另一块所述侧板(12)抵接。

4.根据权利要求3所述的一种高保坍性再生混凝土坍落测试设备,其特征在于:所述顶板(13)远离铰接处的一侧固设有固定板(131),与所述顶板(13)抵接的侧板(12)的一面上对应设置有固定块(121),所述固定块(121)与所述固定板(131)同向设置,并采用螺栓将所述固定板(131)与所述固定板(131)固定连接。

5.根据权利要求2所述的一种高保坍性再生混凝土坍落测试设备,其特征在于:所述底板(11)背离所述侧板(12)的一面的四角处穿设有调节螺栓(111)。

6.根据权利要求1所述的一种高保坍性再生混凝土坍落测试设备,其特征在于:所述坍落度筒(3)外壁上固设有多个连接板(31),多个所述连接板(31)水平设置,且多个所述连接板(31)与多个所述升降杆(21)一一对应设置,对应所述升降杆(21)一端穿过所述连接板(31),在所述升降杆(21)穿过所述连接板(31)的一端拧入螺母,并使螺母贴合所述连接板(31)。

7.根据权利要求1所述的一种高保坍性再生混凝土坍落测试设备,其特征在于:在相邻的所述升降杆(21)之间固定设置有提杆(22),所述提杆(22)位于所述升降杆(21)延伸出所述支撑框(1)的一端。

8.根据权利要求1所述的一种高保坍性再生混凝土坍落测试设备,其特征在于:所述坍落度筒(3)为一个圆台型筒,所述坍落度筒(3)上口为100mm,所述坍落度筒(3)下口为

200mm,所述坍落度筒(3)高度为300mm。

我要求购
我不想找了,帮我找吧
您有专利需要变现?
我要出售
智能匹配需求,快速出售