欢迎来到知嘟嘟! 联系电话:13336804447 卖家免费入驻,海量在线求购! 卖家免费入驻,海量在线求购!
知嘟嘟
我要发布
联系电话:13336804447
知嘟嘟经纪人
收藏
专利号: 2022223922615
申请人: 洛阳万基铝加工有限公司
专利类型:实用新型
专利状态:已下证
专利领域: 铁的冶金
更新日期:2023-08-17
缴费截止日期: 暂无
价格&联系人
年费信息
委托购买

摘要:

权利要求书:

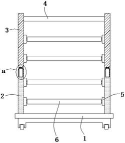
1.一种铝箔退火用料架,包括底座(1)、第一放置架(2)和第二放置架(3),所述底座(1)的上方安装有第一放置架(2),且第一放置架(2)的上方设置有第二放置架(3);

其特征在于,还包括:

顶板(4),其安装在所述第二放置架(3)的内壁,所述第二放置架(3)和第一放置架(2)的内侧表面均连接有安装座(5),且安装座(5)的内侧设置有连接辊(6);

对接槽(7),其开设于所述第一放置架(2)的内壁,所述对接槽(7)的内部设置有第一对接板(8),且第一对接板(8)的顶端安装有限位块(9);

第二对接板(12),其安装在所述第二放置架(3)的底部,所述第二对接板(12)和第一对接板(8)之间安装有弹力弹簧(13)。

2.根据权利要求1所述的一种铝箔退火用料架,其特征在于:所述第一放置架(2)和底座(1)之间为焊接连接,且第一放置架(2)的纵向中心线和第二放置架(3)的纵向中心线位于同一直线上。

3.根据权利要求1所述的一种铝箔退火用料架,其特征在于:所述第一放置架(2)和第二放置架(3)均与安装座(5)的连接方式为焊接,且所述安装座(5)的内壁开设有连接槽(14)。

4.根据权利要求1所述的一种铝箔退火用料架,其特征在于:所述第一对接板(8)和限位块(9)之间为一体式结构,且限位块(9)和第二放置架(3)的连接方式为滑动连接,并且限位块(9)和第二放置架(3)的连接端呈“T”字形,所述第一对接板(8)的底部和第二对接板(12)的底部不接触。

5.根据权利要求1所述的一种铝箔退火用料架,其特征在于:所述第一对接板(8)的外侧表面设置有固定块(10),且固定块(10)通过卡槽(11)和第一放置架(2)相连接,并且卡槽(11)开设于第一放置架(2)的内壁。

6.根据权利要求5所述的一种铝箔退火用料架,其特征在于:所述连接辊(6)和连接槽(14)之间为卡合连接,所述固定块(10)和第一对接板(8)之间为一体式结构,且固定块(10)和卡槽(11)的连接方式为卡合连接。