欢迎来到知嘟嘟! 联系电话:13336804447 卖家免费入驻,海量在线求购! 卖家免费入驻,海量在线求购!
知嘟嘟
我要发布
联系电话:13336804447
知嘟嘟经纪人
收藏
专利号: 2022222644311
申请人: 朱在付
专利类型:实用新型
专利状态:已下证
专利领域: 加工水泥、黏土或石料
更新日期:2024-02-23
缴费截止日期: 暂无
价格&联系人
年费信息
委托购买

摘要:

权利要求书:

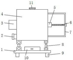
1.一种市政工程用混凝土搅拌机,包括横板(1),其特征在于:所述横板(1)顶部的右侧活动连接有气缸(8),所述气缸(8)的顶部活动连接有箱体(4),所述箱体(4)底部的左侧活动连接于横板(1)顶部的左侧,所述箱体(4)左侧的中端固定安装有驱动电机(12),所述驱动电机(12)的输出端固定连接有转杆(15),所述转杆(15)的外表面固定连接有搅拌杆(13),所述箱体(4)右侧的中端固定安装有伺服电机(5),所述伺服电机(5)的输出端固定连接有螺纹杆(6),所述箱体(4)的右侧插接有连接框(7),所述连接框(7)与螺纹杆(6)螺纹连接,所述连接框(7)的左侧固定连接有连接圈(14)。

2.根据权利要求1所述的一种市政工程用混凝土搅拌机,其特征在于:所述箱体(4)顶部的中端开设有进料口(11),所述箱体(4)左侧的下端开设有出料口(2)。

3.根据权利要求1所述的一种市政工程用混凝土搅拌机,其特征在于:所述箱体(4)左侧的中端固定连接有防护壳(3),且防护壳(3)位于驱动电机(12)的外表面。

4.根据权利要求1所述的一种市政工程用混凝土搅拌机,其特征在于:所述横板(1)顶部的中端固定连接有电池盒(10),所述电池盒(10)的内腔固定连接有蓄电池(16)。

5.根据权利要求1所述的一种市政工程用混凝土搅拌机,其特征在于:所述横板(1)底部的四角均固定连接有支撑脚(9),且支撑脚(9)为对称设置。