欢迎来到知嘟嘟! 联系电话:13336804447 卖家免费入驻,海量在线求购! 卖家免费入驻,海量在线求购!
知嘟嘟
我要发布
联系电话:13336804447
知嘟嘟经纪人
收藏
专利号: 2022222238341
申请人: 民权县向洋农业有限公司
专利类型:实用新型
专利状态:已下证
专利领域: 农业;林业;畜牧业;狩猎;诱捕;捕鱼
更新日期:2023-07-13
缴费截止日期: 暂无
价格&联系人
年费信息
委托购买

摘要:

权利要求书:

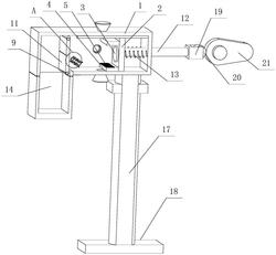
1.一种艾草种植的病虫诱捕装置,包括固定框(1),其特征在于:所述固定框(1)的内部放置有支撑板(2),支撑板(2)的左侧面固定连接有诱虫灯(3),支撑板(2)的左侧面固定连接有两个顶板(4),位于下方的顶板(4)的上表面固定连接有多个呈等距离排列的齿牙(5),固定框(1)的前后内侧壁之间通过轴承转动连接有转动杆(6),转动杆(6)的后端固定连接有齿轮(7),齿轮(7)与齿牙(5)相适配,转动杆(6)的外表面均固定连接有多个呈圆周阵列排列的布条(8),固定框(1)的前后两侧面通过轴承转动连接有两个转动柱(9),两个转动柱(9)的前后两端均固定连接有扭簧(10),每个扭簧(10)的另一端均与固定框(1)固定连接,两个转动柱(9)的外表面均固定连接有挡板(11),支撑板(2)的右侧面固定连接有推柱(12),推柱(12)完全贯穿固定框(1)的右内侧壁,支撑板(2)的右侧面固定连接有两个弹簧(13),两个弹簧(13)均与固定框(1)的右侧面固定连接。

2.根据权利要求1所述的一种艾草种植的病虫诱捕装置,其特征在于:所述固定框(1)的下方放置有收集盒(14),收集盒(14)与固定框(1)连通,收集盒(14)的上表面固定连接有两个T形滑块(15),固定盒的底面固定连接有两个T形滑槽(16),两个T形滑块(15)与两个T形滑槽(16)滑动连接。

3.根据权利要求1所述的一种艾草种植的病虫诱捕装置,其特征在于:所述固定框(1)的底面固定连接有支撑柱(17),支撑柱(17)的底端固定连接有底板(18)。

4.根据权利要求1所述的一种艾草种植的病虫诱捕装置,其特征在于:所述推柱(12)的右端固定连接有固定钳(19),固定钳(19)的前后内侧壁之间通过转轴转动连接有滚轮(20),固定钳(19)的右方放置有凸轮(21),凸轮(21)的正面固定连接有旋转柱(22)。

5.根据权利要求1所述的一种艾草种植的病虫诱捕装置,其特征在于:所述固定框(1)的上表面、底面和前后两侧面均固定连通有锥形筒(23),锥形筒(23)直径较大的一端与固定框(1)远离。

6.根据权利要求1所述的一种艾草种植的病虫诱捕装置,其特征在于:所述固定框(1)的上表面固定连接有两个限位条(24),两个限位条(24)均与支撑板(2)的上表面滑动连接。

7.根据权利要求3所述的一种艾草种植的病虫诱捕装置,其特征在于:所述支撑柱(17)的端固定连接有固定板(25),固定板(25)的上表面固定连接有支撑座(26),支撑座(26)的上表面固定连接有调速电机(27),旋转柱(22)与调速电机(27)的输出端固定连接,固定板(25)的上表面固定连接有稳定板(28),旋转柱(22)通过轴承与稳定板(28)转动连接。