欢迎来到知嘟嘟! 联系电话:13336804447 卖家免费入驻,海量在线求购! 卖家免费入驻,海量在线求购!
知嘟嘟
我要发布
联系电话:13336804447
知嘟嘟经纪人
收藏
专利号: 2022222122345
申请人: 洛阳万基铝加工有限公司
专利类型:实用新型
专利状态:已下证
专利领域: 冶金;黑色或有色金属合金;合金或有色金属的处理
更新日期:2023-08-17
缴费截止日期: 暂无
价格&联系人
年费信息
委托购买

摘要:

权利要求书:

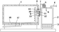
1.一种铝箔生产用退火炉蒸汽保护装置,包括退火炉本体(1)、蒸汽箱(2)、电加热板(3)、进水管(4)和风机(5),所述退火炉本体(1)的右侧设置有蒸汽箱(2),且蒸汽箱(2)的内部安装有电加热板(3),并且蒸汽箱(2)的右上方连接有进水管(4),所述蒸汽箱(2)的左上方螺栓固定有风机(5);

其特征在于,还包括:

吸气管(6),其设置于所述风机(5)的进口处,所述风机(5)的出口处安装有排气管(7);

连接管(8),其一端与所述排气管(7)相连接,所述连接管(8)远离排气管(7)的一端伸入退火炉本体(1)中;

第一旋转杆(9),其贯穿安装在所述退火炉本体(1)的内部,所述第一旋转杆(9)的外壁设置有连接叶片(10)和第一连接齿轮(11);

连接盘(14),其设置于所述退火炉本体(1)的内部,所述连接盘(14)上设置有出气孔(15)。

2.根据权利要求1所述的一种铝箔生产用退火炉蒸汽保护装置,其特征在于:所述退火炉本体(1)的内部底部位置安装有集液板(16),且集液板(16)的底部和排水管(17)相连接,并且集液板(16)呈中间低四周高的形状。

3.根据权利要求1所述的一种铝箔生产用退火炉蒸汽保护装置,其特征在于:所述排气管(7)和连接管(8)的连接方式为焊接,且连接管(8)的出口端和连接叶片(10)位于同一水平线上,并且连接叶片(10)和第一旋转杆(9)之间为焊接连接。

4.根据权利要求1所述的一种铝箔生产用退火炉蒸汽保护装置,其特征在于:所述连接盘(14)的右端固定有第二旋转杆(13),且第二旋转杆(13)位于退火炉本体(1)外侧的外壁安装有第二连接齿轮(12)。

5.根据权利要求4所述的一种铝箔生产用退火炉蒸汽保护装置,其特征在于:所述第二连接齿轮(12)和第一连接齿轮(11)之间为啮合连接,且第一连接齿轮(11)为不完全齿轮,并且第一连接齿轮(11)位于退火炉本体(1)的外侧。

6.根据权利要求4所述的一种铝箔生产用退火炉蒸汽保护装置,其特征在于:所述第二旋转杆(13)和排气管(7)之间为轴承连接,且第二旋转杆(13)和连接盘(14)的连接方式为焊接,并且连接盘(14)上的出气孔(15)等间距分布。