欢迎来到知嘟嘟! 联系电话:13336804447 卖家免费入驻,海量在线求购! 卖家免费入驻,海量在线求购!
知嘟嘟
我要发布
联系电话:13336804447
知嘟嘟经纪人
收藏
专利号: 2022221767742
申请人: 洛阳万基铝加工有限公司
专利类型:实用新型
专利状态:已下证
专利领域: 铁的冶金
更新日期:2023-08-17
缴费截止日期: 暂无
价格&联系人
年费信息
委托购买

摘要:

权利要求书:

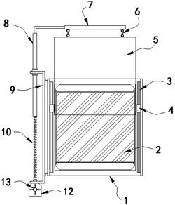
1.一种铝箔生产加工用退火炉观察口盖,观察口盖通过金属防护耐火框架(1)嵌合安装在退火炉的侧面内部,所述金属防护耐火框架(1)的内部中间位置嵌合固定有耐高温透明观察口(2);

其特征在于,包括:

导向滑轨(3),其对称安装在所述金属防护耐火框架(1)的左右两侧位置,且所述导向滑轨(3)的外部卡合装配有导向滑块(4),并且左右两侧的导向滑块(4)之间固定安装有耐高温防火盖(5);

横向定位支杆(7),其下端通过2组固定支架(6)与耐高温防火盖(5)上端相互连接,且所述横向定位支杆(7)的边侧固定安装有内螺纹柱(8);

固定架(9),其固定安装在所述金属防护耐火框架(1)的边侧位置,且所述固定架(9)的内部转动安装有螺纹轴杆(10),并且所述螺纹轴杆(10)的下端固定安装有传动锥齿轮(11)。

2.根据权利要求1所述的一种铝箔生产加工用退火炉观察口盖,其特征在于:所述耐高温防火盖(5)左右两侧均通过导向滑块(4)与导向滑轨(3)构成上下滑动结构,且所述耐高温防火盖(5)对应在耐高温透明观察口(2)的前后两侧位置。

3.根据权利要求2所述的一种铝箔生产加工用退火炉观察口盖,其特征在于:所述耐高温防火盖(5)的内侧开设有内嵌槽(16),且所述内嵌槽(16)的内部固定安装有耐高温刮板(17)。

4.根据权利要求3所述的一种铝箔生产加工用退火炉观察口盖,其特征在于:所述耐高温刮板(17)等距排列安装在耐高温防火盖(5)的内侧,且所述耐高温刮板(17)的边侧呈倾斜状结构,并且所述耐高温刮板(17)的边侧斜面与耐高温透明观察口(2)外侧面相互接触。

5.根据权利要求1所述的一种铝箔生产加工用退火炉观察口盖,其特征在于:所述内螺纹柱(8)、横向定位支杆(7)、固定支架(6)和耐高温防火盖(5)固定为一体化上下驱动结构,且内螺纹柱(8)与固定架(9)贯穿构成上下滑动结构,并且所述内螺纹柱(8)套设在螺纹轴杆(10)的外部与其构成螺纹传动结构。

6.根据权利要求5所述的一种铝箔生产加工用退火炉观察口盖,其特征在于:所述固定架(9)的下端固定安装有防护罩(12),且防护罩(12)的前侧面转动安装有转轮(13),并且转轮(13)的边侧固定连接有驱动轴(14),以及驱动轴(14)贯穿转动安装在所述防护罩(12)的内部,同时所述驱动轴(14)的外部固定安装有驱动锥齿轮(15)。

7.根据权利要求6所述的一种铝箔生产加工用退火炉观察口盖,其特征在于:所述驱动锥齿轮(15)边侧与传动锥齿轮(11)边侧啮合连接,且所述驱动锥齿轮(15)和传动锥齿轮(11)以及螺纹轴杆(10)前后对应设置有2组。