欢迎来到知嘟嘟! 联系电话:13336804447 卖家免费入驻,海量在线求购! 卖家免费入驻,海量在线求购!
知嘟嘟
我要发布
联系电话:13336804447
知嘟嘟经纪人
收藏
专利号: 2022221761924
申请人: 长江电气集团股份有限公司
专利类型:实用新型
专利状态:已下证
专利领域: 基本电气元件
更新日期:2023-08-24
缴费截止日期: 暂无
价格&联系人
年费信息
委托购买

摘要:

权利要求书:

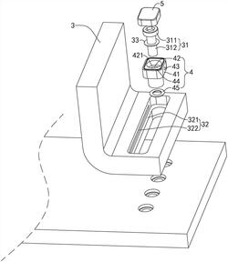
1.一种高压真空断路器,包括机构箱(1)和位于机构箱(1)上部的三相极柱(2),所述三相极柱(2)的侧面设有电流互感器(21),所述三相极柱(2)的上部设有接触头(22),所述机构箱(1)的下方设有支撑架(3)和与支撑架(3)连接的高空固定板,所述支撑架(3)上设有若干固定螺栓(31),所述固定螺栓(31)包括螺母(311)和螺杆(312);

其特征在于,所述固定螺栓(31)的下方设有套筒(4),所述套筒(4)的上部边沿设有方形的翻边(41),所述支撑架(3)上设有供套筒(4)插入的腰型孔(32),所述腰型孔(32)的边沿设有供翻边(41)抵触的第一沉槽(321),所述翻边(41)的侧面设有卡接件(43),所述第一沉槽(321)的内侧面设有供卡接件(43)插入且沿腰型孔(32)长度方向设置的插槽(322),所述固定螺栓(31)贯穿套筒(4)的通孔(42)与固定板连接。

2.根据权利要求1所述的一种高压真空断路器,其特征在于,所述卡接件(43)包括卡块(431)和与卡块(431)抵触的压簧(432)。

3.根据权利要求2所述的一种高压真空断路器,其特征在于,所述卡块(431)靠近插槽(322)的接触边沿为倒圆角。

4.根据权利要求1所述的一种高压真空断路器,其特征在于,所述套筒(4)中部的通孔(42)上部设有供螺母(311)置入的第二沉槽(421)。

5.根据权利要求1所述的一种高压真空断路器,其特征在于,所述套筒(4)的下方设置有半径大小沿靠近机构箱(1)的方向递增的第一密封垫(45)。

6.根据权利要求5所述的一种高压真空断路器,其特征在于,所述固定螺栓(31)的螺杆(312)表面套设有上下两侧面分别与螺母(311)和沉槽抵触的第一橡胶垫(33)。

7.根据权利要求1所述的一种高压真空断路器,其特征在于,所述套筒(4)的上表面设有卡环(44),所述卡环(44)的外边缘套设有防护壳(5)。

8.根据权利要求1所述的一种高压真空断路器,其特征在于,所述三相极柱(2)的下表面设有凸环(23),所述机构箱(1)的上表面设有供凸环(23)置入的环槽(12),所述凸环(23)的外侧设有第二橡胶垫(13)。

我要求购
我不想找了,帮我找吧
您有专利需要变现?
我要出售
智能匹配需求,快速出售