欢迎来到知嘟嘟! 联系电话:13336804447 卖家免费入驻,海量在线求购! 卖家免费入驻,海量在线求购!
知嘟嘟
我要发布
联系电话:13336804447
知嘟嘟经纪人
收藏
专利号: 2022221736814
申请人: 长江电气集团股份有限公司
专利类型:实用新型
专利状态:已下证
专利领域: 基本电气元件
更新日期:2023-08-24
缴费截止日期: 暂无
价格&联系人
年费信息
委托购买

摘要:

权利要求书:

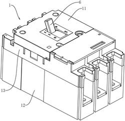
1.一种脱扣器方便维修的断路器,包括有壳体(1),所述壳体(1)内安装有脱扣器(2)、操作机构、触头机构以及灭弧机构,其特征在于:所述壳体(1)包括有相互盖合的顶壳(11)与底壳(12),所述顶壳(11)与底壳(12)之间形成有空腔,所述顶壳(11)与底壳(12)之间设置有用于将空腔进行分隔的中板(13),所述脱扣器(2)卡接安装在中板(13)的一侧,所述操作机构、触头机构以及灭弧机构均安装在中板(13)的另一侧。

2.根据权利要求1所述的一种脱扣器方便维修的断路器,其特征在于:所述脱扣器(2)包括有安装板(21),所述安装板(21)上设置有卡扣弹板(22),所述卡扣弹板(22)上设置有卡块(23),所述中板(13)上开设有用于供卡扣弹板(22)插入的卡扣通槽(131),所述卡块(23)抵触卡接在中板(13)侧壁上。

3.根据权利要求2所述的一种脱扣器方便维修的断路器,其特征在于:所述中板(13)上安装有插座(14),所述插座(14)与外接导线电连接,所述脱扣器(2)包括有电磁机构(3),所述电磁机构(3)的供电端上设置有供电导线(31),所述供电导线(31)端部上设置有用于插入至插座(14)内并电连接的插头(32)。

4.根据权利要求2所述的一种脱扣器方便维修的断路器,其特征在于:所述脱扣器(2)包括有用于滑动触发操作机构的铁芯机构(33)以及用于产生电磁场使铁芯机构(33)滑动的螺旋线圈,所述安装板(21)上设置有基板(34),所述安装板(21)上滑动设置有用于顶动触发操作机构的触发组件(4),所述安装板(21)上转动设置有用于限位触发组件(4)滑动的限位组件(5),所述铁芯机构(33)滑动顶动限位组件(5)用于解除限位组件(5)对触发组件(4)的限位。

5.根据权利要求4所述的一种脱扣器方便维修的断路器,其特征在于:所述触发组件(4)包括有用于顶动触发操作机构的触发板(41),所述基板(34)与触发板(41)之间设置有触发弹簧(42),所述触发弹簧(42)沿触发板(41)顶动触发操作机构的方向伸缩。

6.根据权利要求5所述的一种脱扣器方便维修的断路器,其特征在于:所述限位组件(5)包括有转动设置在基板(34)上的限位板(51),所述限位板(51)上设置有用于卡接抵触在触发板(41)上的限位块(52),所述限位块(52)对触发板(41)的滑动进行限位,所述铁芯机构(33)用于顶动限位板(51)端部使限位板(51)转动,使所述限位块(52)从触发板(41)上转出。

7.根据权利要求6所述的一种脱扣器方便维修的断路器,其特征在于:所述操作机构包括有用于供使用者控制的拉杆(6)以及转动设置在底壳(12)上并用于控制触头机构电路通断的控制组件(61),所述拉杆(6)上设置有复位块(62),所述复位块(62)用于顶动触发板(41)滑动,所述基板(34)与限位板(51)之间设置有用于转动限位板(51)的复位扭簧(53),所述复位扭簧(53)沿限位块(52)转入卡接在触发板(41)上的方向伸缩扭转,所述复位块(62)顶动触发板(41)滑动时,所述复位扭簧(53)转动限位板(51)使限位块(52)转入卡接在触发板(41)上。

8.根据权利要求7所述的一种脱扣器方便维修的断路器,其特征在于:所述顶壳(11)上设置有限位杆(111),所述限位杆(111)位于控制组件(61)的转动路径上,所述限位杆(111)用于对控制组件(61)在触发板(41)顶动下转动的最大角度进行限位。

9.根据权利要求7所述的一种脱扣器方便维修的断路器,其特征在于:所述基板(34)上设置有第一弹簧卡块(35),所述触发板(41)上设置有第二弹簧卡块(43),所述触发弹簧(42)的两端分别套设在第一弹簧卡块(35)与第二弹簧卡块(43)上,所述限位板(51)上开设有用于供复位扭簧(53)一端插入卡接的限位孔(54),所述复位扭簧(53)的另一端弯折夹持卡接在基板(34)上。

10.根据权利要求3所述的一种脱扣器方便维修的断路器,其特征在于:所述安装板(21)上罩设有绝缘保护罩(24),所述安装板(21)上设置有卡接块(25),所述绝缘保护罩(24)侧壁上开设有用于供卡接块(25)插入卡接的卡接槽(26),所述绝缘保护罩(24)将电磁机构(3)、铁芯机构(33)罩在其内。