欢迎来到知嘟嘟! 联系电话:13336804447 卖家免费入驻,海量在线求购! 卖家免费入驻,海量在线求购!
知嘟嘟
我要发布
联系电话:13336804447
知嘟嘟经纪人
收藏
专利号: 2022221363734
申请人: 天津市陆达环保设备有限公司
专利类型:实用新型
专利状态:已下证
专利领域: 一般的物理或化学的方法或装置
更新日期:2024-12-23
缴费截止日期: 暂无
价格&联系人
年费信息
委托购买

摘要:

权利要求书:

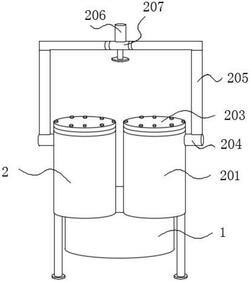
1.一种快速拆装的布袋过滤器,包括连接筒(1),其特征在于,还包括过滤机构(2),所述连接筒(1)顶部安装有过滤机构(2),所述过滤机构(2)包括过滤筒(201)、排出管(202)、顶盖(203)、进入管(204)、连接管(205)、进料管(206)、三通阀(207)和过滤布袋(208),所述连接筒(1)顶部两侧均安装有过滤筒(201),所述过滤筒(201)顶部均可拆卸连接有顶盖(203),所述过滤筒(201)表面均固定连接有与过滤筒(201)内部相连通的进入管(204),所述进入管(204)顶部之间安装有连接管(205),所述连接管(205)顶部中间位置设置有进料管(206),所述进料管(206)与连接管(205)之间安装有三通阀(207),所述过滤筒(201)内部均安装有过滤布袋(208)且过滤布袋(208)为多个。

2.根据权利要求1所述的一种快速拆装的布袋过滤器,其特征在于:还包括安装机构(3),所述过滤筒(201)内部设置有安装机构(3),所述安装机构(3)包括安装环(301)、连杆(302)、连接环(303)、通孔(304)、胶圈(305)和支杆(306),所述过滤筒(201)内部均安装有安装环(301),所述安装环(301)底部两侧均固定连接有连杆(302),所述连杆(302)底部之间安装有连接环(303),所述连接环(303)内部中间位置开设有通孔(304),所述连接环(303)外侧壁粘接有胶圈(305)。

3.根据权利要求1所述的一种快速拆装的布袋过滤器,其特征在于:所述连接筒(1)底部中间位置固定连接有与连接筒(1)内部相连通的排出管(202)。

4.根据权利要求2所述的一种快速拆装的布袋过滤器,其特征在于:所述胶圈(305)外侧壁紧贴过滤筒(201)内侧壁。

5.根据权利要求2所述的一种快速拆装的布袋过滤器,其特征在于:所述连接环(303)底部两侧均安装有支杆(306),所述支杆(306)底部抵触至过滤筒(201)内壁底端。