欢迎来到知嘟嘟! 联系电话:13336804447 卖家免费入驻,海量在线求购! 卖家免费入驻,海量在线求购!
知嘟嘟
我要发布
联系电话:13336804447
知嘟嘟经纪人
收藏
专利号: 2022221079314
申请人: 董志胜
专利类型:实用新型
专利状态:已下证
专利领域: 土层或岩石的钻进;采矿
更新日期:2025-04-16
缴费截止日期: 暂无
价格&联系人
年费信息
委托购买

摘要:

权利要求书:

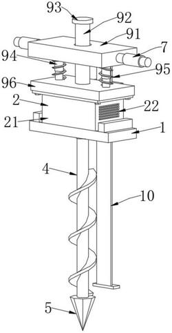
1.一种基于煤矿地测防治水用钻探设备,其特征在于,包括

底座(1),其安装在钻探设备的底侧,其底面中心位置处开设的通孔内通过轴承转动连接有钻杆(4),所述钻杆(4)的底端固定连接有钻头(5);

散热组件(2),其设置在所述底座(1)的上表面,且其包括固定连接在所述底座(1)上表面的散热箱(21)和设置在所述散热箱(21)内的微型风机(24);

减震组件(9),其固定连接在所述散热箱(21)的上侧,且其包括通过紧固螺栓(26)与所述散热箱(21)上表面固定连接的安装板(96)和对称固定连接在所述安装板(96)上表面的减震器(94)。

2.根据权利要求1所述的一种基于煤矿地测防治水用钻探设备,其特征在于:所述散热箱(21)的内底壁中间位置处固定安装有电机(3),所述电机(3)的输出轴端部贯穿散热箱(21),并与所述钻杆(4)的上端固定连接。

3.根据权利要求1所述的一种基于煤矿地测防治水用钻探设备,其特征在于:所述散热箱(21)靠近所述微型风机(24)的一侧侧壁上设置有进风口(25),且其远离所述微型风机(24)的一侧侧壁上开设有出风口(22),所述散热箱(21)的内部固定连接有支撑板(23),所述支撑板(23)的中心位置处通过螺栓固定连接有所述微型风机(24)。

4.根据权利要求1所述的一种基于煤矿地测防治水用钻探设备,其特征在于:所述底座(1)位于所述散热箱(21)的两侧对称固定连接有配重块(6)。

5.根据权利要求1所述的一种基于煤矿地测防治水用钻探设备,其特征在于:两个所述减震器(94)的上端固定连接有活动板(91),所述活动板(91)的中心位置处开设的通孔内滑动连接有限位滑杆(92),所述限位滑杆(92)的上端固定连接有限位板(93),且所述限位滑杆(92)的下端固定连接在所述安装板(96)上表面,两个所述减震器(94)的表面均套设有弹簧(95)。

6.根据权利要求5所述的一种基于煤矿地测防治水用钻探设备,其特征在于:所述活动板(91)的两侧侧壁上对称固定连接有把手(7),两个所述把手(7)的表面套接有防滑套。

7.根据权利要求5所述的一种基于煤矿地测防治水用钻探设备,其特征在于:所述安装板(96)远离所述钻杆(4)的一侧固定连接有固定座(8),且所述固定座(8)表面开设贯穿槽内滑动连接有刻度尺(10),所述刻度尺(10)采用不锈钢材料制成。

我要求购
我不想找了,帮我找吧
您有专利需要变现?
我要出售
智能匹配需求,快速出售