欢迎来到知嘟嘟! 联系电话:13336804447 卖家免费入驻,海量在线求购! 卖家免费入驻,海量在线求购!
知嘟嘟
我要发布
联系电话:13336804447
知嘟嘟经纪人
收藏
专利号: 2022220793171
申请人: 溧阳天际机电安装有限公司
专利类型:实用新型
专利状态:已下证
专利领域: 发电、变电或配电
更新日期:2024-06-06
缴费截止日期: 暂无
价格&联系人
年费信息
委托购买

摘要:

权利要求书:

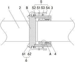
1.一种用于轨道交通的抗拉伸线缆,包括数量为两个的线缆本体(1),其特征在于:左侧所述线缆本体(1)的外侧固定安装有固定块(2),右侧所述线缆本体(1)的外侧活动安装有套筒(3),右侧所述线缆本体(1)上设置有一端与套筒(3)固定连接的滑动机构(4),所述套筒(3)上设置有一端延伸到固定块(2)内部的卡接机构(5),所述套筒(3)上设置有固定机构(6);

所述卡接机构(5)固定杆(51)、卡杆(52)、伸缩弹簧(53)和按压块(54),所述套筒(3)的顶部与底部均固定安装有固定杆(51),两个所述固定杆(51)的背面均活动安装有一端延伸到固定块(2)内部的卡杆(52),所述套筒(3)的顶部与底部且位于固定杆(51)的右侧均固定安装有一端与卡杆(52)固定连接的伸缩弹簧(53),两个所述卡杆(52)相背的一侧均固定安装有按压块(54)。

2.根据权利要求1所述的一种用于轨道交通的抗拉伸线缆,其特征在于:所述固定块(2)的顶部与底部均开设有卡杆槽(21),所述卡杆槽(21)与卡杆(52)相匹配。

3.根据权利要求1所述的一种用于轨道交通的抗拉伸线缆,其特征在于:所述滑动机构(4)包括环形板(41)、滑槽(42)、滑块(43)、连接杆(44)和复位弹簧(45),右侧所述线缆本体(1)的外侧且位于套筒(3)的内部固定安装有环形板(41),所述环形板(41)的顶部与底部均开设有滑槽(42),两个所述滑槽(42)的内部均滑动安装有滑块(43),两个所述滑块(43)相背的一侧均固定安装有一端与环形板(41)固定连接的连接杆(44),两个所述滑块(43)的右侧均固定安装有一端与滑槽(42)固定连接的复位弹簧(45)。

4.根据权利要求2所述的一种用于轨道交通的抗拉伸线缆,其特征在于:所述固定机构(6)包括线缆(61)和插销(62),所述固定块(2)的左侧且位于左侧所述线缆本体(1)的上方与下方均固定连接有线缆(61),两个所述线缆(61)远离固定块(2)的一端固定连接有一端贯穿固定块(2)和卡杆(52)并延伸到固定块(2)内部的插销(62)。

5.根据权利要求4所述的一种用于轨道交通的抗拉伸线缆,其特征在于:两个所述卡杆槽(21)的内壁右侧均固定安装有开设在固定块(2)上的插销槽(22),所述插销槽(22)与插销(62)相匹配。

6.根据权利要求3所述的一种用于轨道交通的抗拉伸线缆,其特征在于:所述固定块(2)的右侧开设有环形槽,所述环形槽与环形板(41)相匹配。

我要求购
我不想找了,帮我找吧
您有专利需要变现?
我要出售
智能匹配需求,快速出售