欢迎来到知嘟嘟! 联系电话:13336804447 卖家免费入驻,海量在线求购! 卖家免费入驻,海量在线求购!
知嘟嘟
我要发布
联系电话:13336804447
知嘟嘟经纪人
收藏
专利号: 2022218848195
申请人: 合肥旺来建节能科技有限公司
专利类型:实用新型
专利状态:已下证
专利领域: 供热;炉灶;通风
更新日期:2025-03-31
缴费截止日期: 暂无
价格&联系人
年费信息
委托购买

摘要:

权利要求书:

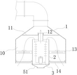
1.一种大厨房内置集烟罩,包括罩体(1),安装于灶台上方,下侧为阔口侧,上侧窄口侧并通过烟气管连通室外过滤箱;其特征在于:所述罩体(1)对应阔口侧中央安装有护套(2),所述罩体(1)对应护套(2)的圆周侧为吸烟通道(10),所述护套(2)中安装有圆筒状的过滤器(3),所述过滤器(3)侧壁为过滤层,所述护套(2)底部安装有驱动过滤器轴线转动的电机(4),所述过滤器(3)的上侧连通吸气管(31);

所述罩体(1)内部对应吸气管(31)上方设置有隔板(11),所述隔板(11)开设有供吸气管(31)穿过并旋转配合的圆孔(12)。

2.根据权利要求1所述一种大厨房内置集烟罩,其特征在于:所述护套(2)的下侧具有托板(5),所述托板(5)安装有所述电机(4),所述过滤器(3)下侧设置有容纳电机(4)的腔体,所述电机(4)输出端对应的机轴上套接有花键轴(41),所述腔体对应花键轴(41)的位置安装有花键套(32),整个过滤器(3)通过花键套套接花键轴实现传动配合。

3.根据权利要求2所述一种大厨房内置集烟罩,其特征在于:所述护套(2)下侧卡接有托盘(51),所述托盘(51)为圆台状,托盘(51)上侧阔口侧固定有所述托板(5),所述托盘(51)的下侧窄口侧可拆卸安装有密封盖(53),所述托板(5)对应电机的圆周侧开设有穿孔(52)。

4.根据权利要求1所述一种大厨房内置集烟罩,其特征在于:所述过滤层由多个过滤翅片(34)组成,多个过滤翅片(34)环绕过滤器(3)轴线均匀排列。

5.根据权利要求4所述一种大厨房内置集烟罩,其特征在于:所述过滤器(3)的端侧由安装板(33)组成,所述过滤翅片(34)内设夹层,夹层中穿插有筋条(35),所述筋条(35)的上下端分别固定于上下侧对应的安装板(33),所述过滤翅片(34)通过夹层套接于对应筋条(35)。

6.根据权利要求1所述一种大厨房内置集烟罩,其特征在于:所述吸烟通道(10)安装有吸气风扇(13),所述吸烟通道(10)对应罩体(1)的阔口侧安装有不锈钢百叶(14)。