欢迎来到知嘟嘟! 联系电话:13336804447 卖家免费入驻,海量在线求购! 卖家免费入驻,海量在线求购!
知嘟嘟
我要发布
联系电话:13336804447
知嘟嘟经纪人
收藏
专利号: 2022218818433
申请人: 沈阳锦达集团有限公司
专利类型:实用新型
专利状态:已下证
专利领域: 铸造;粉末冶金
更新日期:2024-08-20
缴费截止日期: 暂无
价格&联系人
年费信息
委托购买

摘要:

权利要求书:

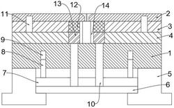
1.一种防止密封槽缺肉破损的顶出结构,包括安装在定模(2)下侧的定模框(3)和安装在动模(1)上侧的动模框(4),所述动模(1)下侧固接有垫脚(5),所述定模框(3)和动模框(4)中部分别固接有定模镶块(12)和动模镶块(13),所述定模镶块(12)和动模镶块(13)内腔贯穿有相连通的密封槽(15),且密封槽(15)内部设置有动模型芯(14),其特征在于:所述垫脚(5)中部从下到上依次滑动连接有推杆固定板(6)和推板(7),所述推杆固定板(6)上侧等距固接有位于动模镶块(13)下侧的推杆(10),所述推杆(10)上端依次贯穿推板(7)和动模(1)与动模镶块(13)底侧贴合,所述推杆(10)横截面为圆形,且动模镶块(13)下侧周端与推杆(10)周端之间长度为1cm‑2cm。

2.根据权利要求1所述的一种防止密封槽缺肉破损的顶出结构,其特征在于:所述动模镶块(13)和推杆(10)材质相同,且均为钨钢。

3.根据权利要求2所述的一种防止密封槽缺肉破损的顶出结构,其特征在于:所述推杆(10)上侧固接有防护垫。

4.根据权利要求1所述的一种防止密封槽缺肉破损的顶出结构,其特征在于:所述推板(7)的上侧端侧对称固接有下导套(8),且动模(1)底侧开设有与下导套(8)适配的下导槽(9),同时所述动模(1)上侧的端部对称固接有上导套(11),且定模框(3)的底侧开设有与上导套(11)适配的上导槽(111),所述上导槽(111)上端延伸至定模(2)中部。

5.根据权利要求1所述的一种防止密封槽缺肉破损的顶出结构,其特征在于:所述定模镶块(12)通过螺栓与定模框(3)分体式连接,且动模镶块(13)通过螺栓与动模框(4)分体式连接。