欢迎来到知嘟嘟! 联系电话:13336804447 卖家免费入驻,海量在线求购! 卖家免费入驻,海量在线求购!
知嘟嘟
我要发布
联系电话:13336804447
知嘟嘟经纪人
收藏
专利号: 2022218630693
申请人: 泉州市凤都服饰有限公司
专利类型:实用新型
专利状态:已下证
专利领域: 层状产品
更新日期:2024-12-20
缴费截止日期: 暂无
价格&联系人
年费信息
委托购买

摘要:

权利要求书:

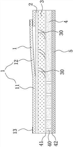
1.一种防风保暖面料,其特征在于:包括由上而下叠加设置的防风层、第一保暖层、第二保暖层、亲肤层,所述防风层包括固定于第一保暖层的固定部、可转动地连接于固定部的翻折部,所述翻折部的自由端通过密封部固定于固定部上,所述第一保暖层上位于翻折部处设有多个第一透气孔,所述第二保暖层顶面设有多个第一透气槽,所述第一透气槽与所述第一透气孔导通,所述第二保暖层上设有多个与第一透气槽导通的第二透气孔。

2.根据权利要求1所述的一种防风保暖面料,其特征在于:所述第二保暖层底面设有多个与第二透气孔导通的第二透气槽。

3.根据权利要求1所述的一种防风保暖面料,其特征在于:所述第一透气孔倾斜设置,所述第一透气孔为弧形结构。

4.根据权利要求1所述的一种防风保暖面料,其特征在于:所述第二透气孔位于固定部下方。

5.根据权利要求1所述的一种防风保暖面料,其特征在于:所述第一保暖层与所述第二保暖层之间设有至少一层网层,所述网层由弹力线网状针织而成。

6.根据权利要求5所述的一种防风保暖面料,其特征在于:所述弹力线包括多个弹性纱线、多个螺旋缠绕于弹性纱线的防静电纱线。

7.根据权利要求1所述的一种防风保暖面料,其特征在于:所述第一保暖层和所述第二保暖层为保暖材料制成。

8.根据权利要求1所述的一种防风保暖面料,其特征在于:所述第二保暖层和防风层之间设有透气层。