欢迎来到知嘟嘟! 联系电话:13336804447 卖家免费入驻,海量在线求购! 卖家免费入驻,海量在线求购!
知嘟嘟
我要发布
联系电话:13336804447
知嘟嘟经纪人
收藏
专利号: 2022217532528
申请人: 湖北新空电气有限公司
专利类型:实用新型
专利状态:已下证
专利领域: 基本电气元件
更新日期:2025-05-13
缴费截止日期: 暂无
价格&联系人
年费信息
委托购买

摘要:

权利要求书:

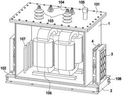
1.一种大功率高频高压整流变压器,包括壳体,所述壳体的顶部和底部分别设置有顶盖和底座,所述顶盖上设置有高压接线柱、低压接线柱和排气阀,其特征在于:所述壳体的内部设置有铁芯和导热管,所述底座上设置有散热装置,所述散热装置包括冷液槽、水泵、冷排和风扇,所述冷液槽的内部设置有相互独立的进水腔和出水腔,所述进水腔和所述出水腔上分别开设有进水口和出水口,所述壳体的底部设置有两个密封块,两个所述密封块分别与所述进水口和所述出水口卡合,所述导热管的两端分别贯穿两个所述密封块,所述水泵的进水端延伸至所述进水腔的内部,所述水泵的出水端与所述冷排的进水端连通,所述冷排的出水端与所述出水腔连通。

2.根据权利要求1所述的一种大功率高频高压整流变压器,其特征在于:所述冷排竖直的设置于所述冷液槽的上部,所述风扇设置于所述冷排上,所述进水腔的内部设置有滤网,所述滤网设置于所述水泵的进水端和所述进水口之间。

3.根据权利要求1或2所述的一种大功率高频高压整流变压器,其特征在于:所述底座为两条平行设置的槽钢,所述冷液槽设置于两条所述槽钢之间,所述槽钢的端部设置有限位装置,所述冷液槽的侧面设置有导向槽,所述导向槽与限位装置相配合。

4.根据权利要求3所述的一种大功率高频高压整流变压器,其特征在于:所述导热管在是壳体内蜿蜒设置。

5.根据权利要求4所述的一种大功率高频高压整流变压器,其特征在于:所述壳体两侧的所述底座上均设置散热装置。