欢迎来到知嘟嘟! 联系电话:13336804447 卖家免费入驻,海量在线求购! 卖家免费入驻,海量在线求购!
知嘟嘟
我要发布
联系电话:13336804447
知嘟嘟经纪人
收藏
专利号: 2022217335286
申请人: 闫瑞雨
专利类型:实用新型
专利状态:已下证
专利领域: 工程元件或部件;为产生和保持机器或设备的有效运行的一般措施;一般绝热
更新日期:2024-02-28
缴费截止日期: 暂无
价格&联系人
年费信息
委托购买

摘要:

权利要求书:

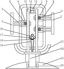
1.一种车载导航手机支架,包括盒体(1),其特征在于:所述盒体(1)的左侧设置有左夹持块(2),所述左夹持块(2)的右侧固定连接有第一齿槽杆(3),所述第一齿槽杆(3)贯穿盒体(1)的左侧且延伸至其内部,所述盒体(1)内壁背面的左侧固定连接有第一限位块(4),所述第一限位块(4)表面开设的槽口与第一齿槽杆(3)相接触,所述盒体(1)内壁的背面且对应第一齿槽杆(3)的位置通过转轴连接有第一齿槽齿轮(5),所述第一齿槽齿轮(5)与第一齿槽杆(3)内壁的齿牙配合使用,所述第一齿槽齿轮(5)的正面固定连接有第一齿杆齿轮(6),所述盒体(1)的右侧设置有右夹持块(7),所述右夹持块(7)的左侧固定连接有两个第二齿槽杆(8),两个第二齿槽杆(8)与第一齿槽杆(3)呈错位分布,所述第二齿槽杆(8)贯穿盒体(1)的右侧且延伸至其内部,所述盒体(1)内壁背面的右侧对应第二齿槽杆(8)的位置固定连接有第二限位块(9),所述第二限位块(9)表面开设的槽口与第二齿槽杆(8)相接触,所述盒体(1)内壁的背面且对应第二齿槽杆(8)的位置通过转轴连接有第二齿槽齿轮(10),所述第二齿槽齿轮(10)与第二齿槽杆(8)内壁的齿牙配合使用,所述第二齿槽齿轮(10)的正面固定连接有第二齿杆齿轮(11),所述盒体(1)的底部设置有底托架(12),所述底托架(12)的顶部固定连接有两个齿杆(13),所述齿杆(13)分别与第一齿杆齿轮(6)与第二齿杆齿轮(11)配合使用,两个齿杆(13)通过连接块(14)相连接,所述连接块(14)的顶部固定连接有伸缩弹簧杆(15),所述盒体(1)内壁的背面且位于两个齿杆(13)之间通过转轴连接有两个卡位块(16),所述卡位块(16)与齿杆(13)表面的凸块配合使用,所述卡位块(16)的底部固定连接有固定块(17),两个固定块(17)之间通过转轴连接有捏架(18),所述捏架(18)的内部固定连接有复位弹簧(19),所述捏架(18)贯穿盒体(1)的底部且延伸至其外部。

2.根据权利要求1所述的一种车载导航手机支架,其特征在于:所述盒体(1)背面固定连接有万向球头(20),所述万向球头(20)的底部固定连接有吸盘支架(21)。

3.根据权利要求1所述的一种车载导航手机支架,其特征在于:所述盒体(1)的表面固定连接有泡沫垫(22)。

4.根据权利要求1所述的一种车载导航手机支架,其特征在于:所述盒体(1)的背面固定连接有定位块(23),所述定位块(23)的数量为四个且呈十字分布于盒体(1)的背面。

5.根据权利要求2所述的一种车载导航手机支架,其特征在于:所述吸盘支架(21)的顶部固定连接有定位支架(24),所述定位支架(24)的内部通过转轴连接有支撑块(25),所述支撑块(25)与定位块(23)配合使用。