欢迎来到知嘟嘟! 联系电话:13336804447 卖家免费入驻,海量在线求购! 卖家免费入驻,海量在线求购!
知嘟嘟
我要发布
联系电话:13336804447
知嘟嘟经纪人
收藏
专利号: 2022217006397
申请人: 钟华芬
专利类型:实用新型
专利状态:已下证
专利领域: 手携物品或旅行品
更新日期:2024-08-20
缴费截止日期: 暂无
价格&联系人
年费信息
委托购买

摘要:

权利要求书:

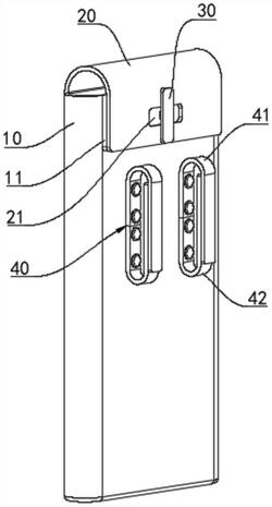
1.一种手机防丢装置,其特征在于,包括套体,所述套体一端开口,所述套体的开口端设有套盖,所述套盖一端与套体一侧固定连接,所述套盖另一端延伸至套体另一侧,所述套盖另一端设有开关片,所述开关片位于套盖远离套体一侧,所述套盖对应开关片的位置开设有避空槽,所述避空槽的形状对应开关片设置,所述开关片对应避空槽的位置固定设有转轴,所述套体对应转轴的位置固定设有连接块,所述转轴穿过避空槽与连接块转动连接,所述套体一侧固定设有绑带,所述绑带与开关片位于套体的同一侧。

2.如权利要求1所述的手机防丢装置,其特征在于,所述开关片靠近套盖一侧设有限位凸起,所述套盖对应限位凸起的位置设有限位凹槽,所述限位凹槽与限位凸起相配合。

3.如权利要求1所述的手机防丢装置,其特征在于,所述套盖为柔性材质。

4.如权利要求1所述的手机防丢装置,其特征在于,所述开关片呈长方形状,所述开关片的长度和宽度小于避空槽的长度和宽度。

5.如权利要求1所述的手机防丢装置,其特征在于,所述绑带的数量为两个,两个所述绑带相对于套体的轴向中心线对称设置。

6.如权利要求1所述的手机防丢装置,其特征在于,所述绑带包括第一带体和第二带体,所述第一带体位于第二带体的上方,所述第一带体一端与套体固定连接,所述第二带体一端与套体固定连接,所述第一带体远离套体一端与第二带体远离套体一端可拆卸连接。

7.如权利要求6所述的手机防丢装置,其特征在于,所述第一带体远离套体一端嵌设有多个金属公扣,多个所述金属公扣沿第一带体的长度方向间隔设置,所述第二带体远离套体一端嵌设有多个金属母扣,多个金属母扣沿第二带体的长度方向间隔设置,所述金属母扣与金属公扣相配合。