欢迎来到知嘟嘟! 联系电话:13336804447 卖家免费入驻,海量在线求购! 卖家免费入驻,海量在线求购!
知嘟嘟
我要发布
联系电话:13336804447
知嘟嘟经纪人
收藏
专利号: 2022214698199
申请人: 义乌工商职业技术学院
专利类型:实用新型
专利状态:已下证
专利领域: 运动;游戏;娱乐活动
更新日期:2024-01-05
缴费截止日期: 暂无
价格&联系人
年费信息
委托购买

摘要:

权利要求书:

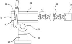
1.一种儿童瞄准玩具,其特征在于:包括固定座以及其上转动连接有的转动座,所述转动座上设有导杆,所述导杆上滑动配合有第一滑块和第二滑块,所述玩具还包括有剪叉式伸缩机构,所述剪叉式伸缩机构由若干剪叉单元串联组成,所述剪叉单元包括呈X型转动连接的第一连杆、第二连杆和转轴,位于所述剪叉式伸缩机构最后端的第一连杆、第二连杆分别与第一滑块、第二滑块转动连接,所述剪叉式伸缩机构中的其中一个转轴同轴连接有拨杆,通过前后拨动拨杆可同步调节整个剪叉式伸缩机构的长度,所述剪叉式伸缩机构的前端设有撞击块。

2.根据权利要求1所述的儿童瞄准玩具,其特征在于:还包括有连接座,所述连接座与所述固定座竖直转动连接,所述转动座与所述连接座水平转动连接。

3.根据权利要求2所述的儿童瞄准玩具,其特征在于:还包括有支架和转动连接在支架上的目标牌,所述目标牌可朝上翻转至竖直站立。

4.根据权利要求3所述的儿童瞄准玩具,其特征在于:所述支架包括左右两定位板以及连接在两定位板之间的若干层翻转牌组件,所述翻转牌组件包括水平设置的光杆和档杆,所述目标牌转动配合在所述光杆上,且可沿着光杆左右滑动位置,所述目标牌朝上翻转可与档杆形成抵合限位。

5.根据权利要求4所述的儿童瞄准玩具,其特征在于:还包括有中空的套管,所述套管相对转动座固定,所述剪叉式伸缩机构穿设在所述套管内,所述套管的两内侧壁上对称设有两条轴向分布的轨道,所述转轴的两端分别滑动安装在两轨道内,同时所述套管上开设有可容纳拨杆的第一条形槽。

6.根据权利要求5所述的儿童瞄准玩具,其特征在于:所述转动座上设有可前后翻转的翻转杆,所述翻转杆上设有可容纳转轴的第二条形槽,前后摆动翻转杆可同步带动转轴前后移动;所述转动座上还固接有水平设置的把手。