欢迎来到知嘟嘟! 联系电话:13336804447 卖家免费入驻,海量在线求购! 卖家免费入驻,海量在线求购!
知嘟嘟
我要发布
联系电话:13336804447
知嘟嘟经纪人
收藏
专利号: 2022214105757
申请人: 重庆彩强智能科技有限公司
专利类型:实用新型
专利状态:已下证
专利领域: 工程元件或部件;为产生和保持机器或设备的有效运行的一般措施;一般绝热
更新日期:2024-06-13
缴费截止日期: 暂无
价格&联系人
年费信息
委托购买

摘要:

权利要求书:

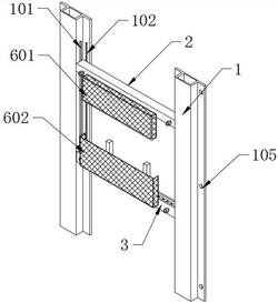
1.一种烟雾探测器壁挂装置,其特征在于:包括安装底座(1)、上限位座(2)、下限位座(3)、限位卡座(4),所述安装底座(1)设置有两个且并排放置,所述安装底座(1)侧壁开有移动滑槽(101),所述上限位座(2)和下限位座(3)在正对的两个移动滑槽(101)之间滑动,所述下限位座(3)位于上限位座(2)正下方;

所述安装底座(1)表面开有定位滑槽(102),所述定位滑槽(102)内滑动连接有两个分别贯穿上限位座(2)和下限位座(3)的定位螺栓(103),所述定位螺栓(103)配合螺母(104)可将上限位座(2)或下限位座(3)紧固;

所述下限位座(3)顶面向下开有放置凹槽(301),所述放置凹槽(301)两侧侧壁对称设置有限位滑轨(302),所述限位卡座(4)设置有两个且正对放置,所述限位卡座(4)均与限位滑轨(302)滑动连接,还包括用于调节限位卡座(4)位置的限位组件(5)。

2.如权利要求1所述的一种烟雾探测器壁挂装置,其特征在于:所述放置凹槽(301)底面等距设置有多个限位块(303),所述限位组件(5)包括固定在与限位卡座(4)表面连通且可伸缩的按压壳体(501),所述按压壳体(501)内顶端竖向连接有传动杆(502),所述传动杆(502)外周设置有支撑按压壳体(501)的按压弹簧(503),所述传动杆(502)下方设置有与限位卡座(4)内壁转动连接的转轴(508),所述转轴(508)两侧均连接有传动板(504),所述限位卡座(4)底面连接有可伸缩且与限位卡座(4)连通的限位壳体(505),所述限位壳体(505)端面与远离传动杆(502)一侧的传动板(504)通过牵引绳(506)连接,所述牵引绳(506)外周设置有用于支撑限位壳体(505)的压缩弹簧(507);

所述限位壳体(505)宽度等于限位块(303)之间的间隙,所述限位壳体(505)收缩状态下伸出限位卡座(4)的高度低于限位卡座(4)与限位块(303)之间的高度,所述限位壳体(505)伸长状态下高度等于限位块(303)的高度。

3.如权利要求2所述的一种烟雾探测器壁挂装置,其特征在于:所述上限位座(2)外侧向下连接有下端开口的上限防护网(601),所述下限位座(3)外侧向上连接有上端开口的下限防护网(602),所述下限防护网(602)尺寸大于上限防护网(601)。

4.如权利要求3所述的一种烟雾探测器壁挂装置,其特征在于:所述限位卡座(4)用于固定烟雾探测器的面为弧形。

5.如权利要求4所述的一种烟雾探测器壁挂装置,其特征在于:所述安装底座(1)表面开有用于配合安装的安装孔(105)。

我要求购
我不想找了,帮我找吧
您有专利需要变现?
我要出售
智能匹配需求,快速出售