欢迎来到知嘟嘟! 联系电话:13336804447 卖家免费入驻,海量在线求购! 卖家免费入驻,海量在线求购!
知嘟嘟
我要发布
联系电话:13336804447
知嘟嘟经纪人
收藏
专利号: 2022211647091
申请人: 范圣钧
专利类型:实用新型
专利状态:已下证
专利领域: 服饰缝纫用品;珠宝
更新日期:2023-08-24
缴费截止日期: 暂无
价格&联系人
年费信息
委托购买

摘要:

权利要求书:

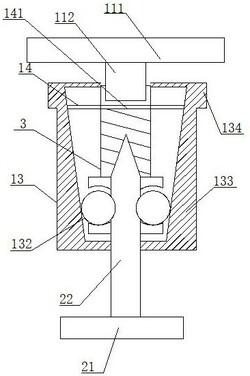
1.一种免钉纽扣,包括纽扣本体和纽钉,其特征在于:所述纽钉位于衣物或纺织物靠近人体的内侧,所述纽扣本体位于对应的外侧;所述纽钉包括按压部和钉部,所述钉部设有限位槽;所述纽扣本体包括扣头和底扣,所述扣头和底扣固定连接,所述底扣内固定设有锁紧部件,所述锁紧部件与所述限位槽配合锁紧连接。

2.如权利要求1所述的免钉纽扣,其特征在于:所述锁紧部件包括锁紧套和滚珠,所述锁紧套内设有容纳腔,两个所述滚珠位于容纳腔内,所述纽钉的钉部依次插入锁紧套、两个所述滚珠中间,所述钉部的限位槽与两个所述滚珠配合锁紧连接。

3.如权利要求2所述的免钉纽扣,其特征在于:所述底扣还包括第一中空柱,所述锁紧套位于第一中空柱内,所述第一中空柱底部中心设有插孔,所述纽钉的钉部依次插入插孔、第一轴套与两个所述滚珠配合锁紧连接。

4.如权利要求3所述的免钉纽扣,其特征在于:所述锁紧套的容纳腔和第一中空柱相通,所述第一中空柱包括限位腔和活动腔,所述限位腔提供容纳腔内两个滚珠和纽钉的钉部之间的锁紧连接,所述扣头和锁紧套连接,所述活动腔提供扣头上拉时容纳腔内两个滚珠和纽钉的钉部之间的分离。

5.如权利要求4所述的免钉纽扣,其特征在于:所述锁紧套包括第一轴套和第二轴套,所述容纳腔位于第一轴套内,所述底扣还包括复位弹簧,所述复位弹簧套于第二轴套上,所述第二轴套穿过复位弹簧与扣头固定连接,所述复位弹簧提供扣头上拉时锁紧套的复位。

6.如权利要求5所述的免钉纽扣,其特征在于:所述底扣还包括限位片,所述限位片的中心设有通孔,所述第二轴套穿过通孔与扣头固定连接,所述限位片阻止扣头上拉时复位弹簧的向上移动。

7.如权利要求1‑6任一权利要求所述的免钉纽扣,其特征在于:所述扣头包括纽面和第二中空柱,所述第二中空柱插入锁紧套内固定连接。

8.一种采用上述权利要求3‑6任一权利要求所述的免钉纽扣制作的调节风纪扣,其特征在于:包括四个所述免钉纽扣、挂钩和扣钩,所述挂钩沿长度方向两端分别设置有第一挂耳,两个所述第一挂耳分别套于其中两个所述免钉纽扣的纽扣本体上,所述扣钩沿长度方向两端分别设置有第二挂耳,两个所述第二挂耳分别套于其余两个所述免钉纽扣的纽扣本体上,所述挂钩和扣钩能够相互扣合。

9.如权利要求8所述的调节风纪扣,其特征在于:所述免钉纽扣的第一中空柱包括挂耳部和限位部,所述挂耳部的外径小于限位部的外径,所述第一挂耳、所述第二挂耳分别套设于对应免钉纽扣的挂耳部的外壁,所述限位部阻止第一挂耳或第二挂耳脱离挂耳部向扣头移动。

10.如权利要求9所述的调节风纪扣,其特征在于:所述限位部呈台阶状。

我要求购
我不想找了,帮我找吧
您有专利需要变现?
我要出售
智能匹配需求,快速出售