欢迎来到知嘟嘟! 联系电话:13336804447 卖家免费入驻,海量在线求购! 卖家免费入驻,海量在线求购!
知嘟嘟
我要发布
联系电话:13336804447
知嘟嘟经纪人
收藏
专利号: 2022211001879
申请人: 瑞安市兴旺鞋业有限公司
专利类型:实用新型
专利状态:已下证
专利领域: 塑料的加工;一般处于塑性状态物质的加工
更新日期:2023-08-24
缴费截止日期: 暂无
价格&联系人
年费信息
委托购买

摘要:

权利要求书:

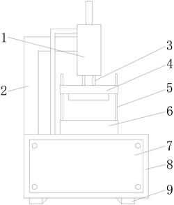
1.一种胶鞋生产用胶鞋成型模具,包括工作台(8),其特征在于:所述工作台(8)外表面顶部的中端固定安装有下模具(6),所述工作台(8)内腔顶部的两端均固定连接有导气筒(10),所述导气筒(10)内腔的上端活动连接有第二活塞(15),所述第二活塞(15)顶部的中端固定连接有顶杆(13),所述顶杆(13)的顶部固定连接有顶料板(12),所述工作台(8)外表面顶部的左端固定连接有固定支架(2),两个所述导气筒(10)的底部通过管道与固定支架(2)右侧的上端之间固定连接有操作箱(1),所述操作箱(1)顶部的中端固定安装有液压杆(16),所述液压杆(16)的输出端固定安装有第一活塞(17),所述第一活塞(17)的表面活动连接于操作箱(1)的内腔,所述第一活塞(17)底部的两端均固定连接有推杆(3),两个所述推杆(3)的底部之间固定安装有上模具(4)。

2.根据权利要求1所述的一种胶鞋生产用胶鞋成型模具,其特征在于:所述上模具(4)的两端均活动连接有定位杆(5),所述定位杆(5)的底部固定连接于下模具(6)的顶部。

3.根据权利要求1所述的一种胶鞋生产用胶鞋成型模具,其特征在于:所述第一活塞(17)的中端固定安装有第一密封环(18),所述第一密封环(18)的四周活动连接于操作箱(1)的内腔。

4.根据权利要求1所述的一种胶鞋生产用胶鞋成型模具,其特征在于:所述第二活塞(15)的中端固定安装有第二密封环(11),所述第二密封环(11)的四周活动连接于导气筒(10)的内腔。

5.根据权利要求1所述的一种胶鞋生产用胶鞋成型模具,其特征在于:所述工作台(8)顶部的两端均固定连接有导向套(14),所述顶杆(13)的表面活动连接于导向套(14)的内表面。

6.根据权利要求1所述的一种胶鞋生产用胶鞋成型模具,其特征在于:所述工作台(8)的正表面通过螺栓固定安装有维护板(7),所述工作台(8)外表面底部的四周均固定连接有支撑块(9)。