欢迎来到知嘟嘟! 联系电话:13336804447 卖家免费入驻,海量在线求购! 卖家免费入驻,海量在线求购!
知嘟嘟
我要发布
联系电话:13336804447
知嘟嘟经纪人
收藏
专利号: 2022208151300
申请人: 烟台锴拓精密机械设备有限公司
专利类型:实用新型
专利状态:已下证
专利领域: 道路、铁路或桥梁的建筑
更新日期:2025-08-08
缴费截止日期: 暂无
价格&联系人
年费信息
委托购买

摘要:

权利要求书:

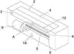
1.一种网络型无接触式智能车位锁,包括底座(1),底座(1)的内部镶嵌安装有无线接发模块(16),其特征在于:所述底座(1)的顶部壁面开设有安装槽(2),安装槽(2)的内部左前侧以及右后侧均镶嵌活动安装有可旋转的扭簧轴(3),两个扭簧轴(3)上均固定套接有活动杆(4),底座(1)的内部对应位于前侧活动杆(4)的位置开设有传动槽(5),传动槽(5)的内部活动安装有传动块(6),传动槽(5)的左侧内壁镶嵌安装有安装轴承(7),安装轴承(7)的内环上固定安装有活动轴(8),活动轴(8)为带有螺纹的圆柱形杆,底座(1)的内部还设置有用于驱动活动轴(8)旋转的动力机构。

2.根据权利要求1所述的一种网络型无接触式智能车位锁,其特征在于:所述传动块(6)靠近活动杆(4)的一侧壁面为斜面。

3.根据权利要求1所述的一种网络型无接触式智能车位锁,其特征在于:所述活动轴(8)贯穿了传动块(6)的左右侧壁与传动块(6)之间螺纹连接。

4.根据权利要求1所述的一种网络型无接触式智能车位锁,其特征在于:所述动力机构包括有驱动电机(9),驱动电机(9)镶嵌安装在底座(1)的内部左侧,驱动电机(9)与无线接发模块(16)之间电性连接,驱动电机(9)的输出端上固定安装有转轴(10),转轴(10)与活动轴(8)之间活动套接有传动带(11),传动带(11)与转轴(10)和活动轴(8)之间均相互啮合。

5.根据权利要求1所述的一种网络型无接触式智能车位锁,其特征在于:两个所述活动杆(4)上远离扭簧轴(3)的一端均开设有活动槽(12),两个活动槽(12)分别贯穿了两个活动杆(4)的前后侧壁,两个活动槽(12)的内部之间活动安装有连接轴(13)。

6.根据权利要求5所述的一种网络型无接触式智能车位锁,其特征在于:所述连接轴(13)的前后两端分别位于两个活动槽(12)相近的一侧内部,两个活动杆(4)之间通过活动槽(12)和连接轴(13)活动连接。

7.根据权利要求6所述的一种网络型无接触式智能车位锁,其特征在于:两个所述活动槽(12)的内部中间位置均开设有限位槽(14),连接轴(13)的侧壁上对应限位槽(14)的位置固定套接有限位环(15),限位环(15)位于限位槽(14)的内部,连接轴(13)通过限位槽(14)和限位环(15)活动安装在活动槽(12)的内部。