欢迎来到知嘟嘟! 联系电话:13336804447 卖家免费入驻,海量在线求购! 卖家免费入驻,海量在线求购!
知嘟嘟
我要发布
联系电话:13336804447
知嘟嘟经纪人
收藏
专利号: 2022208146270
申请人: 浙江优尼家装饰科技有限公司
专利类型:实用新型
专利状态:已下证
专利领域: 一般喷射或雾化;对表面涂覆液体或其他流体的一般方法〔2〕
更新日期:2023-08-24
缴费截止日期: 暂无
价格&联系人
年费信息
委托购买

摘要:

权利要求书:

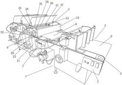
1.一种用于板材均匀上漆的滚涂机,包括工作台(1)、控制面板(2),其特征在于:所述工作台(1)侧面安装有控制面板(2),工作台(1)由输送端(3)与滚涂端(4)构成,其中输送端(3)的两侧安装有输送轴(5),其中一根输送轴(5)安装在控制面板(2)上,两输送轴(5)之间安装有输送带(6),所述滚涂端(4)侧面安装有操作面板(7),滚涂端(4)上设有传送带(8),滚涂端(4)包含有多个升降机构(9),每个升降机构(9)上均设有操作箱(10),操作箱(10)内安装有胶辊(11)与均布钢轮(12),胶辊(11)两侧通过胶辊轴(13)与支撑座(14)上的安装块(15)连接,安装块(15)安装在支撑座(14)上的安装槽(16)上,所述支撑座(14)位于操作箱(10)内侧,支撑座(14)一侧设有锥形齿轮结构(17),其中锥形齿轮结构(17)的下端通过齿轮轴(18)与安装块(15)连接,锥形齿轮结构(17)的上端安装在转轴(19)两端,转轴(19)的其中一端穿过操作箱(10)并与调节转轮(20)连接。

2.根据权利要求1所述的一种用于板材均匀上漆的滚涂机,其特征在于:所述操作箱(10)底部设有固定架(21),固定架(21)内安装有凸轮结构(22),凸轮结构(22)与安装在固定架(21)上的升降转轮(23)连接。

3.根据权利要求2所述的一种用于板材均匀上漆的滚涂机,其特征在于:所述凸轮结构(22)上设有转动轮(24),转动轮(24)通过轴承(25)安装在升降转轮(23)上,转动轮(24)与轴承(25)为偏心结构,所述转动轮(24)与滚动轴(26)相配合连接,滚动轴(26)横设于升降机构(9)底部,滚动轴(26)上安装有提拉杆(27),提拉杆(27)通过固定块(28)安装在升降机构(9)侧面。

4.根据权利要求3所述的一种用于板材均匀上漆的滚涂机,其特征在于:所述转动轮(24)沿着轴承(25)转动,从而驱动滚动轴(26)带动升降机构(9)上下移动。

5.根据权利要求1所述的一种用于板材均匀上漆的滚涂机,其特征在于:所述传送带(8)两侧设有排放槽(29)。

6.根据权利要求1所述的一种用于板材均匀上漆的滚涂机,其特征在于:所述操作箱(10)上安装有喷涂管道(30),喷涂管道(30)端部安装有喷嘴(31),喷涂管道(30)尾端安装有用来输送漆料的输送管(32),输送管(32)与喷涂管道(30)之间安装有调节阀(33)。

7.根据权利要求1所述的一种用于板材均匀上漆的滚涂机,其特征在于:所述操作箱(10)内侧安装有支撑块(34),两支撑块(34)之间安装有支撑轴(35),支撑轴(35)一端安装有支撑片(36),支撑片(36)另一端抵在翻盖(37)上。

8.根据权利要求1所述的一种用于板材均匀上漆的滚涂机,其特征在于:所述调节转轮(20)驱动转轴(19)转动,从而通过锥形齿轮结构(17)驱动齿轮轴(18)带动安装在安装块(15)上的胶辊(11)进行前后调节。