欢迎来到知嘟嘟! 联系电话:13336804447 卖家免费入驻,海量在线求购! 卖家免费入驻,海量在线求购!
知嘟嘟
我要发布
联系电话:13336804447
知嘟嘟经纪人
收藏
专利号: 2022206224909
申请人: 无锡旭格环境科技有限公司
专利类型:实用新型
专利状态:已下证
专利领域: 供热;炉灶;通风
更新日期:2024-12-12
缴费截止日期: 暂无
价格&联系人
年费信息
委托购买

摘要:

权利要求书:

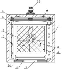
1.一种无管道新风机的过滤清理装置,其特征在于,包括:过滤盒(1),所述过滤盒(1)的内部固定安装有支撑架(2),所述支撑架(2)的表面安装有风扇(3),所述风扇(3)的一侧设置有过滤网(4),所述过滤网(4)固定安装过滤盒(1)的内壁,所述过滤盒(1)的内壁两侧均设置有螺纹杆(5),两个所述螺纹杆(5)的表面均螺纹连接有同一个清理块(6),所述过滤盒(1)的底部开设有贯穿槽(7),所述贯穿槽(7)的内部设置有两个限位板(8)。

2.如权利要求1所述的一种无管道新风机的过滤清理装置,其特征在于,所述过滤盒(1)的顶部开设有驱动腔(9),两个所述螺纹杆(5)一端转动连接驱动腔(9)的内壁,且所述螺纹杆(5)的另一端转动连接过滤盒(1)的内壁,所述驱动腔(9)的内部设置有两个第一齿轮(10),两个所述第一齿轮(10)分别固定连接螺纹杆(5)的顶部,两个所述第一齿轮(10)的表面啮合连接有同一个履带(11)。

3.如权利要求2所述的一种无管道新风机的过滤清理装置,其特征在于,所述驱动腔(9)的内部转动连接有转动轴(12),所述转动轴(12)的表面固定连接有第二齿轮(13),所述第二齿轮(13)的表面啮合连接履带(11),所述过滤盒(1)的顶部固定安装有马达(15),所述马达(15)的输出端固定连接转动轴(12)的一端。

4.如权利要求1所述的一种无管道新风机的过滤清理装置,其特征在于,所述清理块(6)的内部均匀开设有移动腔(16),所述移动腔(16)的内部均连接有第一弹簧(17),所述第一弹簧(17)的一端均固定连接有导向杆(18),所述导向杆(18)的一端贯穿移动腔(16)延伸至外部,所述导向杆(18)的贯穿端均固定连接有毛刷板(19)。

5.如权利要求1所述的一种无管道新风机的过滤清理装置,其特征在于,所述贯穿槽(7)的内部两侧固定连接有固定轴(20),所述固定轴(20)的表面固定连接有扭簧(21),所述扭簧(21)两端分别固定连接过滤盒(1)的内壁和限位板(8)的表面,所述两个限位板(8)的顶部设置有收集盒(14),所述收集盒(14)位于过滤网(4)的顶部。