欢迎来到知嘟嘟! 联系电话:13336804447 卖家免费入驻,海量在线求购! 卖家免费入驻,海量在线求购!
知嘟嘟
我要发布
联系电话:13336804447
知嘟嘟经纪人
收藏
专利号: 2022205040787
申请人: 实德电气集团有限公司
专利类型:实用新型
专利状态:已下证
专利领域: 其他类目不包含的电技术
更新日期:2023-11-29
缴费截止日期: 暂无
价格&联系人
年费信息
委托购买

摘要:

权利要求书:

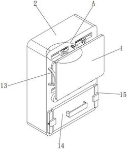
1.一种静止无功补偿发生器,包括防护组件(1),其特征在于,所述防护组件(1)包括发生器本体(2)、显示屏(3)、凹槽(4)、定位杆(5)、移动块(6)、第一弹簧(7)、倾斜杆(8)、固定杆(9)、移动杆(10)和第二弹簧(11);

所述发生器本体(2)上设有显示屏(3),所述发生器本体(2)上开设有四个凹槽(4),所述凹槽(4)的两侧内壁之间固定安装有定位杆(5),所述定位杆(5)上滑动连接有移动块(6),所述移动块(6)的一侧与对应的凹槽(4)的一侧内壁之间固定安装有第一弹簧(7),所述第一弹簧(7)活动套设在对应的定位杆(5)上,所述移动块(6)的一侧转动安装有倾斜设置的倾斜杆(8),所述发生器本体(2)上固定安装有两个固定杆(9),所述固定杆(9)上滑动连接有移动杆(10),所述移动杆(10)的端部与发生器本体(2)的一侧之间固定安装有第二弹簧(11),所述第二弹簧(11)活动套设在对应的固定杆(9)上。

2.根据权利要求1所述的一种静止无功补偿发生器,其特征在于,所述移动杆(10)的端部固定安装有防护板(12),所述防护板(12)的一侧与倾斜杆(8)的端部相铰接。

3.根据权利要求2所述的一种静止无功补偿发生器,其特征在于,所述防护板(12)的一侧与发生器本体(2)的一侧之间固定安装有弧形弹片(13)。

4.根据权利要求1所述的一种静止无功补偿发生器,其特征在于,所述防护组件(1)的一侧设有固定组件(14),所述固定组件(14) 包括固定板(15)、矩形槽(16)、卡杆(17)和拉块(18);

所述发生器本体(2)上固定安装有两个固定板(15),所述固定板(15)上开设有矩形槽(16),所述矩形槽(16)上设有卡杆(17),所述卡杆(17)的端部固定安装有拉块(18)。

5.根据权利要求4所述的一种静止无功补偿发生器,其特征在于,所述卡杆(17)的另一端嵌装有滚珠(20),所述拉块(18)的一侧与对应的固定板(15)的一侧之间固定安装有第三弹簧(19),所述第三弹簧(19)活动套设在对应的卡杆(17)上。

6.根据权利要求4所述的一种静止无功补偿发生器,其特征在于,所述固定板(15)上活动接触有一侧为开口设置的防尘盒(21),所述防尘盒(21)的两侧均固定安装连接块(22)。

7.根据权利要求6所述的一种静止无功补偿发生器,其特征在于,所述连接块(22)的一侧固定安装有梯形块(23),所述梯形块(23)的一侧设为倾斜面,所述梯形块(23)的一侧开设有卡槽(24)。

8.根据权利要求7所述的一种静止无功补偿发生器,其特征在于,所述倾斜面与滚珠(20)滚动接触,所述卡槽(24)与卡杆(17)相卡装,所述防尘盒(21)的一侧固定安装有把手(25)。