欢迎来到知嘟嘟! 联系电话:13336804447 卖家免费入驻,海量在线求购! 卖家免费入驻,海量在线求购!
知嘟嘟
我要发布
联系电话:13336804447
知嘟嘟经纪人
收藏
专利号: 2022204363184
申请人: 瀚步自动化科技(上海)有限公司
专利类型:实用新型
专利状态:已下证
专利领域: 测量;测试
更新日期:2025-04-03
缴费截止日期: 暂无
价格&联系人
年费信息
委托购买

摘要:

权利要求书:

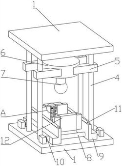
1.一种力学实验用落锤冲击测试工装,包括机架(1),其特征在于,包括落锤组件(2)、夹持组件(3)和导向杆(4);夹持组件(3)和导向杆(4)设置在机架(1)上;落锤组件(2)滑动设置在导向杆(4)上,落锤组件(2)位于夹持组件(3)的上方;

夹持组件(3)包括丝杠(8)、Y轴方向夹持板(9)、转动旋钮(10)、X轴方向夹持板(12)、中心座(13)和弹性件一(16);丝杠(8)设置在机架(1)的X轴方向上;Y轴方向夹持板(9)滑动设置在丝杠(8)上;转动旋钮(10)转动设置在Y轴方向夹持板(9)上,转动旋钮(10)与丝杠(8)螺纹连接;中心座(13)设置在机架(1)上,中心座(13)位于落锤组件(2)的正下方;弹性件一(16)沿Y轴方向设置在中心座(13)的两端;X轴方向夹持板(12)设置在弹性件一(16)远离中心座(13)的一端,X轴方向夹持板(12)位于Y轴方向夹持板(9)之间。

2.根据权利要求1所述的一种力学实验用落锤冲击测试工装,其特征在于,落锤组件(2)包括滑动座(5)、吸附件(6)、落锤(7)和电磁铁(23);滑动座(5)滑动设置在导向杆(4)上;吸附件(6)设置在滑动座(5)上;落锤(7)设置在吸附件(6)靠近夹持组件(3)的一端;电磁铁(23)设置在机架(1)上,电磁铁(23)与吸附件(6)吸附连接,电磁铁(23)位于吸附件(6)的上方。

3.根据权利要求1所述的一种力学实验用落锤冲击测试工装,其特征在于,夹持组件(3)还包括缓冲垫(11);缓冲垫(11)设置在Y轴方向夹持板(9)上。

4.根据权利要求1所述的一种力学实验用落锤冲击测试工装,其特征在于,X轴方向夹持板(12)包括套板(14)和滑动板(15);套板(14)设置在弹性件一(16)上;滑动板(15)滑动设置在套板(14)上。

5.根据权利要求4所述的一种力学实验用落锤冲击测试工装,其特征在于,X轴方向夹持板(12)还包括弹性件二(17);弹性件二(17)包括滑动杆(18)、导向套杆(19)和弹簧(20);

滑动杆(18)滑动设置在导向套杆(19)上;弹簧(20)滑动设置在导向套杆(19)上,弹簧(20)的一端设置在滑动杆(18)上,弹簧(20)的另一端设置在导向套杆(19)上。

6.根据权利要求5所述的一种力学实验用落锤冲击测试工装,其特征在于,滑动杆(18)上设置有卡块(21);卡块(21)滑动设置在导向套杆(19)上。

7.根据权利要求6所述的一种力学实验用落锤冲击测试工装,其特征在于,导向套杆(19)上设置有卡槽(22);卡块(21)滑动设置在卡槽(22)上。