欢迎来到知嘟嘟! 联系电话:13095918853 卖家免费入驻,海量在线求购! 卖家免费入驻,海量在线求购!
知嘟嘟
我要发布
联系电话:13095918853
知嘟嘟经纪人
收藏
专利号: 2022204010657
申请人: 欧之伦五金集团有限公司
专利类型:实用新型
专利状态:已下证
专利领域: 锁;钥匙;门窗零件;保险箱
更新日期:2023-08-24
缴费截止日期: 暂无
价格&联系人
年费信息
委托购买

摘要:

权利要求书:

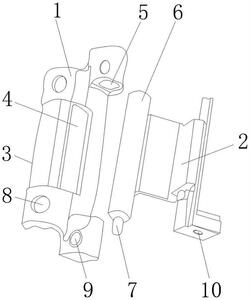
1.平移内倒窗的铰链组件,包括第一铰链组件(1)和第二铰链组件(2),其特征在于:所述第一铰链组件(1)的左侧固定连接有安装板(3),所述安装板(3)的内腔开设有通槽(4),所述第一铰链组件(1)内腔的顶部和底部均开设有活动槽(5),所述第二铰链组件(2)的左侧固定连接有连接件(6),所述连接件(6)的底部固定连接有活动块(7),所述第一铰链组件(1)包括基层(101),所述基层(101)的顶部固定连接有加强层(102),所述加强层(102)的顶部固定连接有涂覆层(103),所述涂覆层(103)包括防锈层(1031),所述防锈层(1031)的顶部固定连接有防水层(1032)。

2.根据权利要求1所述的平移内倒窗的铰链组件,其特征在于:所述安装板(3)内腔的顶部和底部均开设有第一安装孔(8),所述第一铰链组件(1)左侧的顶部和底部均开设有第二安装孔(9)。

3.根据权利要求1所述的平移内倒窗的铰链组件,其特征在于:所述第二铰链组件(2)的底部开设有第三安装孔(10),所述连接件(6)的形状为圆柱状。

4.根据权利要求1所述的平移内倒窗的铰链组件,其特征在于:所述基层(101)采用锌合金材质,所述加强层(102)为镀铬层。

5.根据权利要求1所述的平移内倒窗的铰链组件,其特征在于:所述防锈层(1031)为环氧富锌漆涂层,所述防水层(1032)为纳米防水涂料层。

6.根据权利要求1所述的平移内倒窗的铰链组件,其特征在于:所述基层(101)、加强层(102)和涂覆层(103)为一个整体,所述第二铰链组件(2)的材质与第一铰链组件(1)相同。

我要求购
我不想找了,帮我找吧
您有专利需要变现?
我要出售
智能匹配需求,快速出售