欢迎来到知嘟嘟! 联系电话:13336804447 卖家免费入驻,海量在线求购! 卖家免费入驻,海量在线求购!
知嘟嘟
我要发布
联系电话:13336804447
知嘟嘟经纪人
收藏
专利号: 2022201825016
申请人: 吉南
专利类型:实用新型
专利状态:已下证
专利领域: 输送;包装;贮存;搬运薄的或细丝状材料
更新日期:2024-05-23
缴费截止日期: 暂无
价格&联系人
年费信息
委托购买

摘要:

权利要求书:

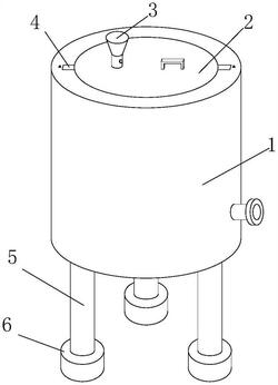
1.一种化学制品防火存储装置,包括装置本体(1),其特征在于:所述装置本体(1)上方设置有密封盖(2),所述密封盖(2)上方设置有进料漏斗(3),所述密封盖(2)两侧设置有便启密封组件(4),所述便启密封组件(4)包括密封阀(41)、阀门密封圈(42)、承接台(43)、第一密封圈(44)、第二密封圈(45)和限位组件(46),其中,所述进料漏斗(3)内部设置有密封阀(41),所述密封阀(41)与进料漏斗(3)相接处设置有阀门密封圈(42),所述装置本体(1)内壁设置有承接台(43),所述密封盖(2)靠近承接台(43)的一侧设置有第一密封圈(44),所述承接台(43)靠近第一密封圈(44)的一侧设置有第二密封圈(45),所述装置本体(1)上侧设置有限位组件(46)。

2.根据权利要求1所述的一种化学制品防火存储装置,其特征在于:所述限位组件(46)包括连接块(461)、限位块(462)和限位弹簧(464),其中,所述密封盖(2)两侧设置有连接块(461),所述装置本体(1)靠近连接块(461)的一侧设置有限位块(462),所述限位块(462)远离连接块(461)的一端设置有限位弹簧(464)。

3.根据权利要求2所述的一种化学制品防火存储装置,其特征在于:所述限位块(462)内部设置有定位杆(463),且限位块(462)下方设置有定位槽。

4.根据权利要求1所述的一种化学制品防火存储装置,其特征在于:所述承接台(43)内壁与密封盖(2)相接处设置有硅胶干燥层。

5.根据权利要求1所述的一种化学制品防火存储装置,其特征在于:所述装置本体(1)底部设置有支撑柱(5),所述支撑柱(5)下端设置有缓冲组件(6),所述缓冲组件(6)包括转板(61)、缓冲座(62)、压板(64)、侧部缓冲弹簧(65)、顶板(66)、缓冲柱(67)和底部缓冲弹簧(68),其中,所述支撑柱(5)下端设置有缓冲座(62),所述支撑柱(5)底部设置有缓冲柱(67),所述缓冲柱(67)表面设置有底部缓冲弹簧(68),所述支撑柱(5)两侧设置有顶板(66),所述顶板(66)上方设置有转板(61),所述转板(61)一端设置有压板(64),所述压板(64)下方设置有侧部缓冲弹簧(65)。

6.根据权利要求5所述的一种化学制品防火存储装置,其特征在于:所述压板(64)与侧部缓冲弹簧(65)内部设置有限位杆(63)。