欢迎来到知嘟嘟! 联系电话:13336804447 卖家免费入驻,海量在线求购! 卖家免费入驻,海量在线求购!
知嘟嘟
我要发布
联系电话:13336804447
知嘟嘟经纪人
收藏
专利号: 2022116625248
申请人: 南通汤姆瑞斯工业智能科技有限公司
专利类型:发明专利
专利状态:授权未缴费
专利领域: 手动工具;轻便机动工具;手动器械的手柄;车间设备;机械手
更新日期:2025-07-25
缴费截止日期: 暂无
价格&联系人
年费信息
委托购买

摘要:

权利要求书:

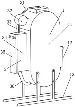
1.一种机械零部件摆放架,包括零件放置机构(1),所述零件放置机构(1)包括外壳(11),所述外壳(11)的右侧开设有孔,所述外壳(11)右侧位于孔的位置铰接有第一门板(12),所述外壳(11)的底部固定连接有支架(13),其特征在于:所述外壳(11)的外壁固定连接有气流清灰机构(3),所述外壳(11)的内壁固定连接有零件摆放机构(2);

所述零件摆放机构(2)包括传动装置(25),所述外壳(11)的内壁与传动装置(25)的外壁固定连接;

第一齿轮(22),所述第一齿轮(22)的背面插接在传动装置(25)内部,且传动装置(25)与第一齿轮(22)旋转连接,所述第一齿轮(22)的数量为两个;

传动带(21),所述传动带(21)的内壁固定连接有第二齿轮(23),且第二齿轮(23)与第一齿轮(22)啮合连接,所述传动带(21)位于第一齿轮(22)外部;

竖板(24),所述传动带(21)的外壁固定连接有竖板(24),所述传动带(21)的外壁固定连接有两个框架(211),且两个框架(211)之间转动连接有第二轴承(217),所述第二轴承(217)的外壁固定连接有两个连接杆(212),所述连接杆(212)之间固定连接有放置板(213),所述放置板(213)的两侧转动连接有两个第一轴承(215),所述第一轴承(215)的顶部均固定连接有限位板(216),所述第一轴承(215)的底部均固定连接有受压板(214),所述气流清灰机构(3)包括风机(32),所述风机(32)的外壁与外壳(11)的外壁固定连接,所述风机(32)的顶部固定连接有第一管道(31)的一端,所述第一管道(31)的另一端插接在外壳(11)的顶部,所述第一管道(31)的外壁固定连接有两个第四管道(38),两个所述第四管道(38)之间固定连接有弹性丝(39),所述风机(32)的底部固定连接有第二管道(33)的一端,所述第二管道(33)的另一端固定连接有存储箱(34),所述存储箱(34)的外壁与外壳(11)的外壁固定连接,所述存储箱(34)的底部固定连接有第三管道(36)的一端,所述第三管道(36)的另一端插接在外壳(11)的底部,所述存储箱(34)的外壁铰接有第二门板(35),所述存储箱(34)内顶部位于第二管道(33)的位置固定连接有海绵套(37)。

我要求购
我不想找了,帮我找吧
您有专利需要变现?
我要出售
智能匹配需求,快速出售