欢迎来到知嘟嘟! 联系电话:13336804447 卖家免费入驻,海量在线求购! 卖家免费入驻,海量在线求购!
知嘟嘟
我要发布
联系电话:13336804447
知嘟嘟经纪人
收藏
专利号: 2022113186785
申请人: 广州锐格安防科技有限公司
专利类型:发明专利
专利状态:授权未缴费
专利领域: 信号装置
更新日期:2025-06-05
缴费截止日期: 暂无
价格&联系人
年费信息
委托购买

摘要:

权利要求书:

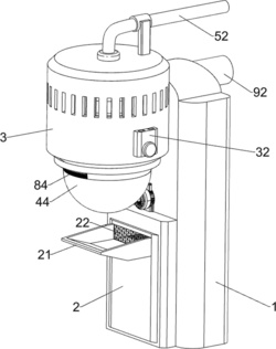
1.一种视频报警一体机,包括有:

安装壳(1)、固定罩(3)、转盘(41)和摄像头(45);安装壳(1)的前侧固接有固定罩(3);

环绕固定罩(3)的上侧开设有若干个通气槽(31);固定罩(3)的外表面安装有检测空气温度和湿度的气体检测模块(32);固定罩(3)的下侧转动连接有转盘(41);转盘(41)的上侧固接有齿环(42);转盘(41)下侧的固定板(43)上固接有透明罩(44);固定板(43)的中部安装有摄像头(45);摄像头(45)的下侧安装有红外感应模块(48);

其特征在于:还包括有喷淋水箱(2)、旋转喷雾机构、引流组件和排烟组件;

安装壳(1)的内部固定有喷淋水箱(2);喷淋水箱(2)内置有输送泵机;摄像头(45)上通过线路电连接有信号传输模块(47);固定罩(3)内连接有喷雾机构,喷雾机构使用喷淋水箱(2)内的喷淋水,配合从外界抽入的冷空气向透明罩(44)喷射低温喷淋水雾的,同时转盘(41)前侧的引流组件将喷洒到摄像头(45)视野内的喷淋水雾转换为清洁喷淋水流,清洗透明罩(44)位于摄像头(45)视野内的区域;喷雾机构连接安装壳(1);喷雾机构连接齿环(42);固定罩(3)的上侧连接有连通各个通气槽(31)的排烟组件。

2.根据权利要求1所述的一种视频报警一体机,其特征在于:旋转喷雾机构包括有风筒(51)、进气管(52)、第一马达(53)、第一转轴(54)、第一风扇(55)、第一直齿轮(56)、电动推杆(61)、滑块(62)、第二直齿轮(63)和喷雾组件;

固定罩(3)的中部固接有风筒(51);固定罩(3)的上侧固接有进气管(52);风筒(51)的上端接通进气管(52);风筒(51)的内部固接有第一马达(53);风筒(51)的内部转动连接有第一转轴(54);第一马达(53)的输出轴固接第一转轴(54);第一转轴(54)的上端固接有第一风扇(55);第一转轴(54)的下端固接有第一直齿轮(56);风筒(51)的左侧固接有电动推杆(61);电动推杆(61)的伸缩端固接有滑块(62);滑块(62)滑动连接风筒(51);滑块(62)的下侧通过转轴转动连接有第二直齿轮(63);第二直齿轮(63)的一侧与第一直齿轮(56)相啮合;第二直齿轮(63)的另一侧与齿环(42)相啮合;固定罩(3)的右侧连接有喷雾组件;喷雾组件连接安装壳(1);喷雾组件连接喷淋水箱(2);风筒(51)连接喷雾组件。

3.根据权利要求2所述的一种视频报警一体机,其特征在于:喷雾组件包括有雾化器(71)、抽液管(72)、三通管(73)、环形液管(74)和喷头(75);

安装壳(1)的上侧固接有雾化器(71);雾化器(71)的进液口通过抽液管(72)接通喷淋水箱(2)的输送泵机;雾化器(71)的出液口接通有三通管(73);三通管(73)的上端接通风筒(51);固定罩(3)的内底部固接有环形液管(74);三通管(73)的下端接通环形液管(74);环绕环形液管(74)的下侧接通有若干个喷头(75);喷头(75)的下端均贯穿固定罩(3)的底部。

4.根据权利要求3所述的一种视频报警一体机,其特征在于:每个喷头(75)的下端均朝向透明罩(44)的外表面。

5.根据权利要求3所述的一种视频报警一体机,其特征在于:引流组件包括有收集板(81)、集液槽(82)、导液管(83)和引流筛毛(84);

固定板(43)的前侧固接有收集板(81);收集板(81)的内部开设有集液槽(82)结构,位于收集板(81)上侧的各个喷头(75)的喷口均对齐集液槽(82);集液槽(82)的内底部接通有若干个导液管(83);每个导液管(83)的下端各种植有若干个引流筛毛(84);引流筛毛(84)的下端均紧贴固定板(43)。

6.根据权利要求5所述的一种视频报警一体机,其特征在于:相邻的引流筛毛(84)之间的间距从上到下逐渐疏远。

7.根据权利要求1所述的一种视频报警一体机,其特征在于:排烟组件包括有环形气管(91)、排气管(92)、第二马达(93)和第二风扇(94);

固定罩(3)的上侧固接有环形气管(91);安装壳(1)的上侧固接有接通环形气管(91)的排气管(92);环绕环形气管(91)开设有若干个接通通气槽(31)的集气槽(911)结构;排气管(92)的内部固接有第二马达(93);第二马达(93)的输出轴固接有第二风扇(94)。

8.根据权利要求1所述的一种视频报警一体机,其特征在于:摄像头(45)的后侧安装有应急供电的储备电池(46)。

9.根据权利要求1所述的一种视频报警一体机,其特征在于:喷淋水箱(2)的前侧接通有收集喷淋水珠的回流斗(21)。

10.根据权利要求9所述的一种视频报警一体机,其特征在于:回流斗(21)上固接有拦截颗粒的滤网(22)。