欢迎来到知嘟嘟! 联系电话:13336804447 卖家免费入驻,海量在线求购! 卖家免费入驻,海量在线求购!
知嘟嘟
我要发布
联系电话:13336804447
知嘟嘟经纪人
收藏
专利号: 2022111485354
申请人: 中铁建工集团有限公司
专利类型:发明专利
专利状态:已下证
专利领域: 建筑物
更新日期:2025-10-18
缴费截止日期: 暂无
价格&联系人
年费信息
委托购买

摘要:

权利要求书:

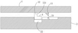
1.一种可拼接的装配式建筑用预制墙板,其特征在于:包括第一墙板(1)和第二墙板(2),第一墙板(1)的底部设置有连接块(12),连接块(12)的一侧开设有限位槽(121),连接块(12)的一侧设置有驱动块(11);第二墙板(2)的上端面开设有容置槽(22),容置槽(22)用于容置连接块(12),容置槽(22)的一侧设置有滑块(21),滑块(21)具有朝向容置槽(22)一侧滑动的自由度;

当第一墙板(1)下压时,连接块(12)进入容置槽(22)中被限位,驱动块(11)推动滑块(21)进入限位槽(121)中,滑块(21)对连接块向上的运动限位;

滑块(21)的底部设置有接线盒(28),接线盒(28)连接有弹性组件,当滑块(21)位于接线盒(28)正上方时,接线盒(28)被挤压缩入第二墙板(2)内,当滑块(21)滑入限位槽(121)后,受弹性组件作用,将接线盒(28)弹出;

接线盒(28)的两侧设置有滑销(26),滑销(26)与接线盒(28)嵌入第二墙板(2)内,滑销(26)的底部安装有弹簧(27),当滑块(21)滑出后,弹簧(27)将滑销(26)弹出。

2.根据权利要求1所述的一种可拼接的装配式建筑用预制墙板,其特征在于:连接块(12)的左右两侧均设置有限位槽,驱动块(11)以及滑块(21)均设置有左右相互对称的两组。

3.根据权利要求2所述的一种可拼接的装配式建筑用预制墙板,其特征在于:滑块(21)的一侧设置有倾斜驱动面(211),驱动块(11)的一侧为斜角结构。

4.根据权利要求3所述的一种可拼接的装配式建筑用预制墙板,其特征在于:连接块(12)的上端面略高于容置槽(22)的深度,滑块(21)靠近于容置槽的一侧设置有缺口(212),用于容置连接块(12)高于容置槽(22)的部分。

5.根据权利要求1所述的一种可拼接的装配式建筑用预制墙板,其特征在于:滑块(21)连接有滑轴(25),滑轴(25)与第二墙板(2)滑动连接,滑轴(25)上套接有导向块(23),导向块(23)的底部与滑销(26)触接,导向块(23)远离容置槽(22)的一侧设置有斜面,当滑销(26)与斜面解接触时,逐渐被弹簧(27)弹出;

导向块(23)为U型结构,滑轴(25)上设置有限位环,限位环与导向块朝向容置槽(22)一侧的侧壁之间连接有缓冲弹簧(24),当滑块(21)朝向容置槽(22)一侧滑动时,先压缩缓冲弹簧(24),然后再推动导向块(23)滑动,最后释放底部的滑销(26)。