欢迎来到知嘟嘟! 联系电话:13336804447 卖家免费入驻,海量在线求购! 卖家免费入驻,海量在线求购!
知嘟嘟
我要发布
联系电话:13336804447
知嘟嘟经纪人
收藏
专利号: 202211113791X
申请人: 许琼阳
专利类型:发明专利
专利状态:已下证
专利领域: 机床;其他类目中不包括的金属加工
更新日期:2023-11-05
缴费截止日期: 暂无
价格&联系人
年费信息
委托购买

摘要:

权利要求书:

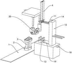
1.一种罗茨真空泵的组装装置,其特征在于,包括运输组件,转子定位组件、轴承导入架,轴承运输组件、轴承加热器(13)、和轴承安装组件;

转子定位组件用于限定两个转子(3)之间的角度;

轴承导入架用于运输轴承,每次只将单个轴承送出

轴承运输组件将轴承导入到轴承加热器(13)中,通过轴承加热器(13)对轴承加热;

轴承安装组件将加热后的轴承装在定子上。

2.根据权利要求1所述的一种罗茨真空泵的组装装置,其特征在于,所述轴承导入架包括进料道(4),所述进料道(4)设有两个,且进料道(4)刚好让一个轴承通过,所述进料道(4)朝下设置,且出料道的出口位置设有一个档杆(9),所述出料道外侧安装有气缸一(10),所述气缸一(10)的输出轴与档杆(9)固定连接,所述档杆(9)穿入出料道内,气缸一(10)控制档杆(9)伸入和抽出出料道,所述出料道沿着出口的方向固定连接有挡板(7),所述出料道铰接有防掉罩(6),所述防掉罩(6)与挡板(7)形成一个放置轴承的空间,所述出料道设有气缸二(5),所述气缸二(5)的底部与进料道(4)铰接,所述气缸二(5)的输出轴与防掉罩(6)铰接,通过气缸二(5)的伸缩控制防掉罩(6)的开闭。

3.根据权利要求2所述的一种罗茨真空泵的组装装置,其特征在于,所述轴承运输组件包括轭铁(11)、移动台(12)、连接杆(17)、丝杆一(15)、丝杆二、电机一(14)和电机二(18),所述轴承加热器(13)位于轴承导入架的下方,所述移动台(12)上设有升降槽,所述丝杆一(15)位于升降槽内,所述电机一(14)的输出轴与丝杆一(15)固定连接,所述升降槽内设有移动块一(16),所述丝杆一(15)穿过移动块一(16)且与其螺纹连接,所述连接杆(17)的中间与移动块一(16)固定连接,所述连接杆(17)的两端分别固定连接有轭铁(11),所述挡板(7)和防护罩上设有开口(8),所述轭铁(11)能够穿过开口(8),且穿过轴承的内圈,所述移动台(12)位于底座上,所述底座上设有移动槽(19),所述丝杆二两端旋转连接在移动槽(19)内,所述移动槽(19)内设有移动块二,所述丝杆二穿过移动块二,且与其螺纹连接,所述电机二(18)的输出轴与丝杆二固定连接。

4.根据权利要求3所述的一种罗茨真空泵的组装装置,其特征在于,所述转子定位组件包括定位块(2),所述定位块(2)上设有定位槽,两个转子(3)放在定位槽内使得二者垂直设置。

5.根据权利要求4所述的一种罗茨真空泵的组装装置,其特征在于,所述轴承安装组件包括翻转板(20),所述翻转板(20)上设有两个防止轴承的放置槽(24),所述翻转板(20)位于放置槽(24)的那侧设有防掉板(25),所述翻转板(20)的两侧分别安装有气缸三(32),所述气缸三(32)的输出轴与防掉板(25)固定连接,所述翻转板(20)两侧设有固定板(23),所述翻转板(20)与固定板(23)之间设有旋转装置,所述固定板(23)设有升降移动组件,所述移动台(12)上设有将轭铁(11)上的轴承推入放置槽(24)的推出装置。

6.根据权利要求5所述的一种罗茨真空泵的组装装置,其特征在于,所述旋转装置包括旋转轴、锥齿轮一(27)、锥齿轮二(28)和电机三(26),所述翻转板(20)两侧分别固定连接旋转轴,所述旋转轴穿过固定板(23)且与其旋转连接,一侧的旋转轴固定连接有锥齿轮一(27),所述锥齿轮一(27)与锥齿轮二(28)啮合,所述电机三(26)安装在固定板(23)上,所述电机三(26)的输出轴与锥齿轮二(28)固定连接。

7.根据权利要求6所述的一种罗茨真空泵的组装装置,其特征在于,所述升降移动组件包括支撑架、电机四(31)、丝杆三和气缸四(29),所述支撑架设有凹槽,所述丝杆三两端旋转连接在凹槽内,所述凹槽内设有移动块三,所述丝杆三穿过移动块三且与其螺纹连接,所述移动块三固定连接有方板(30),所述气缸四(29)固定连接在方板(30)两端,所述气缸四(29)的输出轴与固定板(23)固定连接。

8.根据权利要求7所述的一种罗茨真空泵的组装装置,其特征在于,所述推出装置包括气缸五(22)和推出杆(21),所述气缸五(22)安装在移动台(12)上,所述气缸五(22)的输出轴与推出杆(21)固定连接,所述推出杆(21)为U型,形成的槽刚好让轭铁(11)穿过。

9.根据权利要求1所述的一种罗茨真空泵的组装装置,其特征在于,所述运输组件包括传送带(1),所述转子定位组件安装在传送带(1)上。

我要求购
我不想找了,帮我找吧
您有专利需要变现?
我要出售
智能匹配需求,快速出售